E145W (ЕК-14). Гидроуправление на поворотной платформе 314-20-80.04.000, 314-20-80.04.000-10
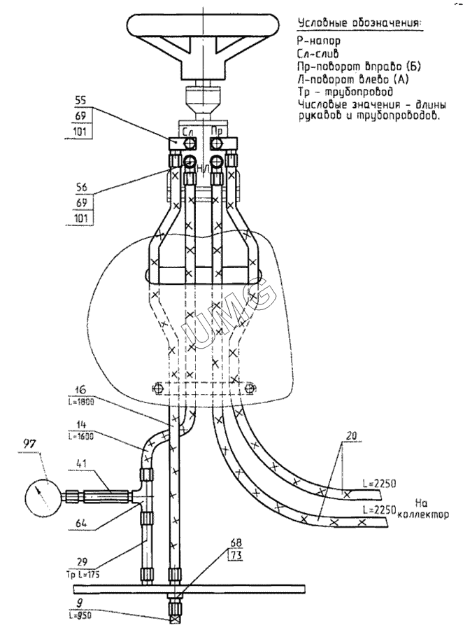
9
14
16
20
29
29
41
55
56
64
68
69
69
73
97
101
101
| Позиция на иллюстрации | Заводской номер детали | Название детали | |
|---|---|---|---|
| 1 | ЭО-3323А.07.31.030 | Рукав (L=100мм) | |
| 2 | ЭО-3323А.07.31.050 | Рукав L=300 мм | |
| 3 | ЭО-3323А.07.31.070 | Рукав L=400 мм | |
| 3 | ЭО-3323А.07.31.070 | Рукав L=400 мм | |
| 4 | ЭО-3323А.07.31.080 | Рукав L=450 мм | |
| 5 | ЭО-3323А.07.31.090 | Рукав L=500 мм | |
| 5 | ЭО-3323А.07.31.090 | Рукав L=500 мм | |
| 6 | ЭО-3323А.07.31.110 | Рукав L=650 мм | |
| 6 | ЭО-3323А.07.31.110 | Рукав L=650 мм | |
| 8 | ЭО-3323А.07.31.125-10 | Рукав L=850 мм | |
| 9 | ЭО-3323А.07.31.130-10 | Рукав L=950 мм | |
| 10 | ЭО-3323А.07.31.150 | Рукав L= 1100 мм | |
| 11 | ЭО-3323А.07.31.160 | Рукав L=1200 мм | |
| 12 | ЭО-3323А.07.31.170 | Рукав L=1300 мм | |
| 13 | ЭО-3323А.07.31.180 | Рукав (L=1450 мм) | |
| 14 | ЭО-3323А.07.31.185 | Рукав (L=1600мм) | |
| 15 | ЭО-3323А.07.31.190 | Рукав L=1700 мм | |
| 16 | ЭО-3323А.07.31.190-10 | Рукав (L=1800мм) | |
| 17 | ЭО-3323А.07.31.200 | Рукав L=1900 мм | |
| 18 | ЭО-3323А.07.31.210 | Рукав (L=2100 мм) | |
| 19 | ЭО-3323А.07.31.220 | Рукав L=2200 мм | |
| 20 | ЭО-3323А.07.31.225 | Рукав (L=2250мм) | |
| 21 | ЭО-3323А.07.31.240 | Рукав (L=2700мм) | |
| 22 | ЭО-3323А.07.31.240-10 | Рукав L=2800 мм | |
| 23 | ЭО-3323А.07.31.260 | Рукав (L=3000мм) | |
| 24 | ЭО-3323А.07.31.270-10 | Рукав L=3300 мм | |
| 29 | ЭО-3323А.07.21.360 | Трубопровод | |
| 29 | ЭО-3323А.07.21.360 | Трубопровод | |
| 30 | ЭО-3323А.07.21.370 | Трубопровод L=300 | |
| 32 | ЭО-3323А.07.21.380 | Трубопровод (L=390мм) | |
| 35 | ЭО-3323А.07.21.010 | Гидрораспределитель | |
| 38 | ЭО-3323А.07.15.020 | Клапан «ИЛИ» | |
| 41 | ЭО-3322А.23.02.260 | Включатель манометра | |
| 46 | 13.80.04.820 | Блок управления | |
| 47 | 13.80.04.920-20 | Блок управления | |
| 48 | 13.80.04.940 | Блок управления | |
| 52 | 64002.10.000 | Пневмогидроаккумулятор с гидроклапанами | |
| 55 | 005-04-80.04.020 | Переходник | |
| 56 | 005-04-80.04.040 | Переходник | |
| 57 | 016-00-80.04.010 | Переходник | |
| 57 | 016-00-80.04.010 | Переходник | |
| 58 | 314-20-80.04.001 | Кронштейн | |
| 64 | ЭО-3322А.23.03.006 | Тройник | |
| 65 | ЭО-3322А.23.03.008 | Хомут | |
| 66 | ЭО-3322А.24.00.005 | Штуцер | |
| 66 | ЭО-3322А.24.00.005 | Штуцер | |
| 67 | ЭО-3322А.24.01.004 | Тройник | |
| 67 | ЭО-3322А.24.01.004 | Тройник | |
| 68 | ЭО-3322А.24.01.005 | Штуцер | |
| 69 | 005-04-80.04.002 | Болт | |
| 70 | 016-00-80.04.001 | Болт | |
| 70 | 016-00-80.04.001 | Болт | |
| 71 | 308-02-80.04.002 | Штуцер | |
| 72 | ЭО-3322Б.11.07.015 | Штуцер | |
| 73 | ЭО-3322А.24.01.008 | Гайка | |
| 74 | 520.20.20.025 | Штуцер | |
| 76 | ЭО-3323А.07.21.003 | Крестовина | |
| 76 | ЭО-3323А.07.21.003 | Крестовина | |
| 77 | ЭО-3322Д.23.03.009 | Штуцер | |
| 78 | ЭО-3323.01.90.133 | Гайка | |
| 80 | Э302-1-1200-40 | Втулка предохранительная | |
| 82 | 18.15.01.001 | Планка | |
| 94 | 9833.012-016-25-2-3 | Кольцо | |
| 96 | [Манометр МТП-3-10 МПа-1,5 D60мм ТУ25-7310.0045-87] | Манометр МТП-3-10 МПа-1,5 D60мм ТУ25-7310.0045-87 | |
| 97 | [Манометр МТП-3-16 МПа-1,5 D60мм ТУ25-7310.0045-87] | Манометр МТП-3-16 МПа-1,5 D60мм ТУ25-7310.0045-87 | |
| 99 | 23358.12М3 | Прокладка | |
| 100 | 23358.14М3 | Прокладка | |
| 100 | 23358.14М3 | Прокладка | |
| 101 | 23358.20М3 | Прокладка | |
| 102 | 23358.22М3 | Прокладка | |
| 113 | MDM101CD1CB300X | Фильтр напорный | |
| 114 | APM37 | Фильтр напорный | |
| 115 | 100ВНМ-11 | Блок управления | |
| 115 | 13.80.04.500 | Блок управления |