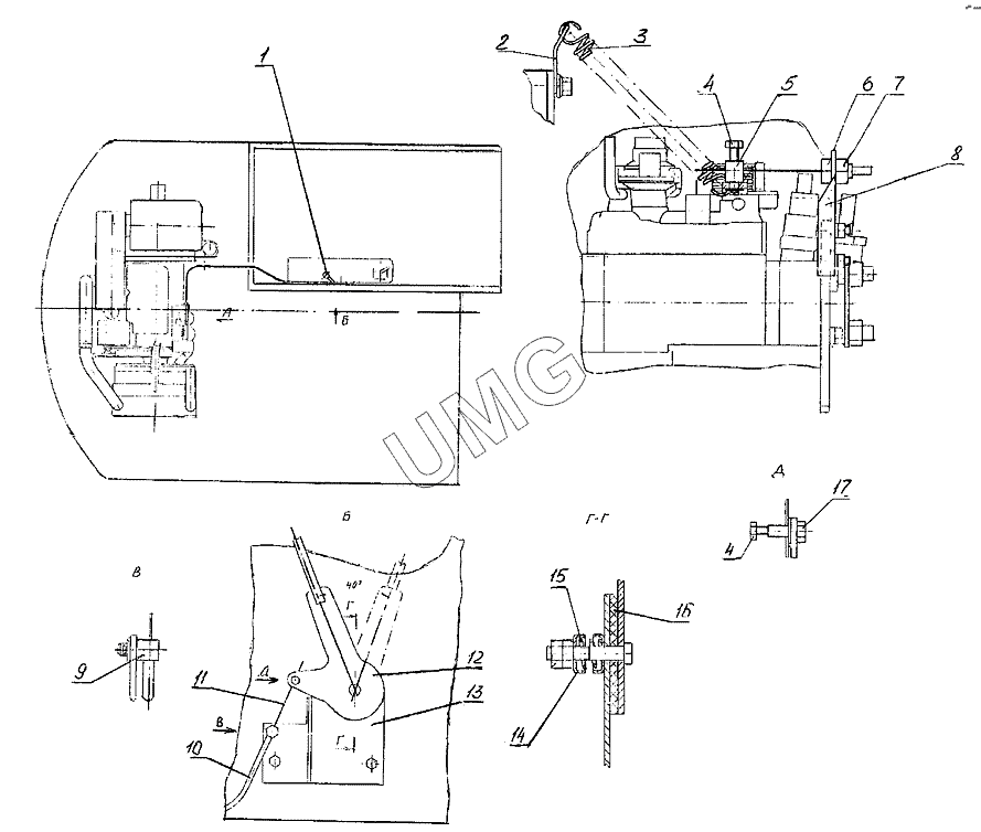
E145W (ЕК-14). Управление двигателем 314-60-04.06.000
1
2
3
4
5
6
7
8
9
10
11
12
13
14
15
16
17
| Позиция на иллюстрации | Заводской номер детали | Название детали | |
|---|---|---|---|
| 1 | 13.80.04.670 | Ручка | |
| 2 | 13.03.02.005 | Планка | |
| 3 | Э302-1-2200-04 | Пружина возвратная | |
| 4 | 7798.BM6-6gx16.58.019 | Болт | |
| 5 | 005-40-03.07.002 | Держатель | |
| 6 | 005-01-03.10.006 | Втулка предохранительная | |
| 7 | 5915.M6-6H.5.016 | Гайка | |
| 8 | 314-60-04.06.001 | Планка | |
| 9 | 13.03.02.008 | Упор | |
| 10 | 312-04-03.50.330 | Оболочка | |
| 11 | [Проволока Б-2-1,6 ГОСТ9389-75 (L=2800мм)] | Проволока Б-2-1,6 ГОСТ9389-75 (L=2800мм) | |
| 12 | 312-04-03.50.320 | Рычаг | |
| 13 | 312-04-03.50.310 | Кронштейн | |
| 14 | ЭО-3323.04.02.002 | Чашка | |
| 15 | ЭО-3322А.02.06.003 | Пружина | |
| 16 | Э302-1-2200-03 | Диск фрикционный | |
| 17 | ЭО-3322А.02.03.005 | Палец |