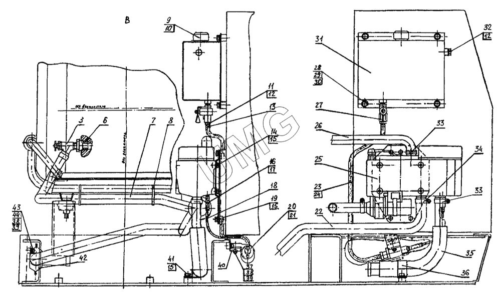
E145W (ЕК-14). Установка подогревателя 314-02-87.60.000
3
6
7
8
8
9
9
10
10
11
12
12
13
14
15
15
15
16
17
18
19
20
21
22
23
24
25
26
27
28
29
30
31
32
33
33
34
35
36
37
38
38
39
39
40
41
42
43
44
| Позиция на иллюстрации | Заводской номер детали | Название детали | |
|---|---|---|---|
| 3 | [Кран ОСТ37-001-240.ВС-11] | Кран ОСТ37-001-240.ВС-11 | |
| 6 | 314-02-87.50.001 | Переходник | |
| 7 | 20.1673.80.00.03 | Шланг водяной | |
| 8 | Э302-1-1600-14 | Хомутик | |
| 8 | 25.1801.02.00 | Хомут 5х200 | |
| 9 | 16.03.14.001 | Крышка | |
| 9 | 16.03.14.003 | Крышка | |
| 10 | 16.03.14.002 | Прокладка | |
| 10 | 16.03.14.002-10 | Прокладка | |
| 11 | 318-16-87.00.002 | Ниппель | |
| 12 | 23358.14М3 | Прокладка | |
| 13 | 10.2063.01.10.98 | Хомуты для топливных шлангов | |
| 14 | 7798.M8-8gx20.58.019 | Болт | |
| 15 | 6402.8.65Г.019 | Шайба | |
| 16 | 360.75.300 | Шланг топливный L=100 мм | |
| 17 | 10.2063.00.90.98 | Хомуты для топливных шлангов | |
| 18 | 090.31.117 | Трубка 4х1 | |
| 19 | 7798.M8-8gx25.58.019 | Болт | |
| 20 | 25.1894.45.00.00 | Дозировочный насос со встроенным топливным фильтром | |
| 21 | 22.1000.50.06.00 | Скоба крепления дозировочного насоса | |
| 22 | 25.1816.80.08.00 | Гибкий газоотводящий шланг диаметром 30 мм | |
| 23 | 360.75.350 | Шланг топливный L=500 мм | |
| 24 | 090.31.101 | Шланг топливный L=700 мм | |
| 25 | HYDRONIC 10 | Жидкостный подогреватель с блоком управления, водяным насосом, кронштейном (12 В) мод.25.2081.01.00.00 | |
| 26 | 20.1673.80.00.01 | Шланг водяной | |
| 27 | [Кран ОСТ37.001-240.ПП6-1] | Кран ОСТ37.001-240.ПП6-1 | |
| 28 | 7798.M10-8gx20.58.019 | Болт | |
| 29 | 6402.10.65Г.019 | Шайба | |
| 30 | 11371.С10.01.019 | Шайба | |
| 31 | 710-00-87.50.100 | Бачок топливный | |
| 32 | ЭО-3322А.24.01.014 | Заглушка | |
| 33 | 10.2065.02.00.32 | Хомуты для водяных шлангов и глушителя на входе | |
| 34 | 152.10.061 | Хомуты для глушителя | |
| 35 | 25.1786.80.02.00 | Глушитель на входе | |
| 36 | 225-10-87.25.010 | Скоба | |
| 37 | 7798.M6-8gx25.58.019 | Болт | |
| 38 | 6402.6.65Г.019 | Шайба | |
| 39 | 11371.С6.01.019 | Шайба | |
| 40 | 314-02-87.60.001 | Кронштейн | |
| 41 | 7798.M8-8gx20.58.019 | Болт | |
| 42 | 25.1806.80.01.00 | Глушитель | |
| 43 | 152.10.049 | Хомут | |
| 44 | 7798.M6-8gx20.58.019 | Болт |