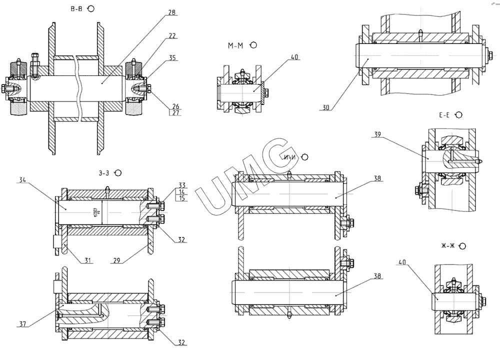
E145W (ЕК-14). Рабочее оборудование обратной лопаты 314-03-23.00.000
14
15
22
22
26
27
28
29
30
31
32
32
33
34
35
37
38
38
39
40
40
| Позиция на иллюстрации | Заводской номер детали | Название детали | |
|---|---|---|---|
| 14 | 11371.С16.01.08кп.019 | Шайба | |
| 15 | 6402.16.65Г.019 | Шайба | |
| 22 | ШС-70 | Подшипник | |
| 22 | ШСЛ-70 | Подшипник ТУ37.553.130-90 | |
| 26 | 7798.ВМ12-8gх30.58.019 | Болт | |
| 27 | 6402.12.65Г.019 | Шайба | |
| 28 | 314-03-23.50.504 | Палец | |
| 29 | 314-03-23.15.100 | Щека левая | |
| 30 | 318-14-21.50.050 | Палец в сборе | |
| 31 | 314-03-23.15.000 | Щека правая | |
| 32 | Э302-4-0900-02 | Шайба торцовая | |
| 33 | 7798.М16х35.58.019 | Болт | |
| 34 | 314-02-23.50.570 | Палец в сборе | |
| 35 | ЭО-3326.41.00.054 | Шайба торцевая | |
| 37 | 314-02-23.50.580 | Палец в сборе | |
| 38 | 312-04-28.50.040 | Палец в сборе | |
| 39 | 314-02-23.50.550 | Палец в сборе | |
| 40 | 314-02-23.50.560 | Палец в сборе |