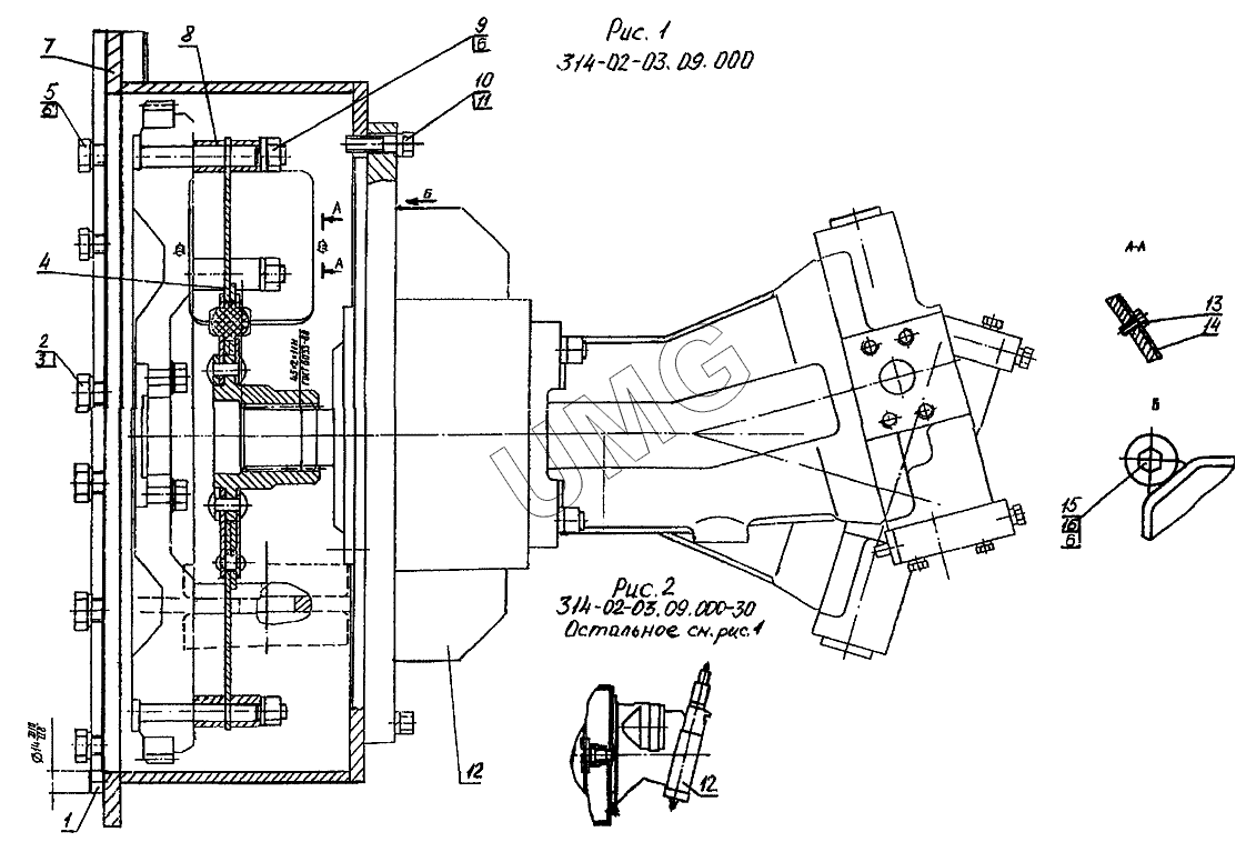
E145W (ЕК-14). Установка насоса 314-02-03.09.000, 314-02-03.09.000-30
1
2
3
4
4
5
6
6
6
7
7
8
9
10
11
12
12
12
12
13
14
15
16
| Позиция на иллюстрации | Заводской номер детали | Название детали | |
|---|---|---|---|
| 1 | ЭО-3323.04.03.003 | Штифт | |
| 2 | 7798.М16-8gх30.58.019 | Болт | |
| 3 | 6402.16.65Г | Шайба | |
| 4 | 314-02-03.09.100 | Диск демпферный | |
| 4 | 314-02-03.09.100-20 | Диск демпферный | |
| 5 | 7798.М12-8gх30.58.019 | Болт | |
| 6 | 6402.12.65Г | Шайба | |
| 7 | 005-01-03.01.100 | Корпус | |
| 7 | 005-01-03.01.100-10 | Корпус | |
| 8 | 314-02-03.09.001 | Втулка | |
| 9 | 5915.М12х1,25-6H.5.019 | Гайка | |
| 10 | 7798.М10-8gх35.58.019 | Болт | |
| 11 | 6402.10.65Г | Шайба | |
| 12 | A8V055LAOH2/61R1-NZG05K010+ZP1 | Насос (70 kW) | |
| 12 | 333.3.55.100.220 | Насос | |
| 13 | 7798.М6-8gх16.58.019 | Болт | |
| 14 | 005-01-03.01.005 | Крышка | |
| 15 | 7798.М12-8gх40.58.019 | Болт | |
| 16 | 5915.М12-6H.5.019 | Гайка |