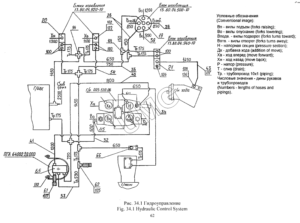
ВП-05 (2005). Гидроуправление
19
19
20
20
21
21
26
32
34
35
36
38
40
41
43
53
54
61
62
65
65
66
94
100
100
100
101
102
104
105
107
109
110
111
115
122
126
| Позиция на иллюстрации | Заводской номер детали | Название детали | |
|---|---|---|---|
| 2 | 005-04-80.04.020 | Переходник | |
| 4 | 005-04-80.04.040 | Переходник | |
| 8 | 005-04-80.04.080 | Вал | |
| 10 | 005-01-80.01.100 | Трубопровод | |
| 11 | 005-01-80.01.210 | Угольник | |
| 14 | 005-01.80.09.000 | Гидроцилиндр | |
| 19 | 13.80.04.500-10 | Блок управления | |
| 20 | 13.80.04.920-10 | Блок управления | |
| 21 | 13.80.04.940-10 | Блок управления | |
| 26 | ЭО-3323А.07.31.040 | Рукав (L=150 мм) | |
| 32 | ЭО-3323А.07.31.090 | Рукав L=500 мм | |
| 34 | ЭО-3323А.07.31.110 | Рукав L=650 мм | |
| 35 | ЭО-3323А.07.31.120 | Рукав L=750 мм | |
| 36 | ЭО-3323А.07.31.125-10 | Рукав L=850 мм | |
| 38 | ЭО-3323А.07.31.130-10 | Рукав L=950 мм | |
| 40 | ЭО-3323А.07.31.150 | Рукав L= 1100 мм | |
| 41 | ЭО-3323А.07.31.160 | Рукав L=1200 мм | |
| 42 | ЭО-3323А.07.31.170 | Рукав L=1300 мм | |
| 43 | ЭО-3323А.07.31.180 | Рукав (L=1450 мм) | |
| 46 | ЭО-3323А.07.31.210 | Рукав (L=2100 мм) | |
| 48 | ЭО-3323А.07.31.230 | Рукав L=2500 мм | |
| 53 | ЭО-3323А.07.21.350 | Трубопровод | |
| 54 | ЭО-3323А.07.21.360 | Трубопровод | |
| 58 | 13.71.80.050 | Трубопровод 12x1 L=1050 мм | |
| 61 | ЭО-3323.01.82.680 | Включатель манометра | |
| 62 | ЭО-3322А.23.02.260 | Включатель манометра | |
| 65 | 64002.20.000 | Пневмогидроаккумулятор с гидроклапанами | |
| 66 | СП-71.0.30.100-10 | Клапан обратный | |
| 81 | 005-04-80.04.002 | Болт | |
| 83 | 005-04-80.04.004 | Штуцер | |
| 88 | 005-04-80.04.009 | Крышка | |
| 90 | 005-04-04.00.002 | Шайба | |
| 94 | ЭО-3323А.07.2 1.003 | Крестовина | |
| 95 | ЭО-3323А.08.07.002-01 | Штуцер | |
| 96 | ЭО-3323.07. 13.002 | Штифт | |
| 100 | ЭО-3322А.24.00.005 | Штуцер | |
| 101 | ЭО-3322А.24.0 1.004 | Тройник | |
| 102 | 520.20.20.025 | Штуцер | |
| 104 | ЭО-3322А.24.01.014 | Заглушка | |
| 105 | ЭО-3322А.23.03.006 | Тройник | |
| 106 | ЭО-3322А23.02.003 | Гайка | |
| 107 | ЭО-3322А.09.01.015 | Втулка | |
| 109 | ЭО-3322Б.11.07.015 | Штуцер | |
| 110 | ЭО-3322Б.23.03.008 | Хомут | |
| 111 | 312-04-80.04.002 | Чехол | |
| 114 | ЭО-3322В.47.20.002 | Хомут | |
| 115 | 318-14-21.09.004 | Угольник | |
| 122 | 9833.012-016-25-2-2 | Кольцо | |
| 126 | 23358.12М3 | Прокладка | |
| 128 | 23358.20М3 | Прокладка | |
| 153 | 13940.В25 | Кольцо | |
| 155 | 8338.205 | Подшипник | |
| 156 | 520.941/20 | Подшипник | |
| 158 | НДМ80-У250 | Насос-дозатор моноблочный | |
| 159 | 10.226.000.00 | Колесо рулевое «Вираж» | |
| 161 | РВД 12-28(М22х1,5)-650-У | РВД 12-28(М22х1,5)-650-У | |
| 166 | 2405.МТП-3М | Манометр d=60мм Р=16 МПа | |
| 167 | 2405.МТП-3М | Манометр d=60мм Р=16 МПа |