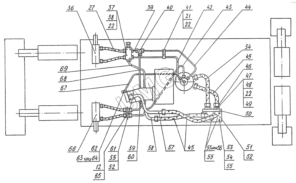
E185W (ЕК-18). 318-02-72.00.000 Гидрооборудование на ходовой раме
12
21
22
22
22
27
34
36
37
38
39
40
41
42
43
44
45
45
46
47
48
49
50
51
52
52
53
53
54
55
55
55
56
57
58
59
60
61
62
63
64
65
66
67
68
69
| Позиция на иллюстрации | Заводской номер детали | Название детали | |
|---|---|---|---|
| 1 | 13.20.67.000 | Гидроцилиндр | |
| 2 | 7808.М12-8gх35.88.019 | Болт | |
| 3 | 6402.12.65Г.019 | Шайба | |
| 4 | 9833.038-044-36-2-2 | Кольцо | |
| 5 | 13.71.80.650 | Трубопровод | |
| 6 | 13.71.80.642 | Кольцо защитное | |
| 7 | 9833.020-025-30-2-2 | Кольцо | |
| 8 | 13.71.80.640 | Гидрозамок двухсторонний | |
| 9 | ЭО-3323.20.83.013 | Штуцер | |
| 10 | 9833.018-022-25-2-2 | Кольцо | |
| 11 | 7808.М12-8gх60.88.019 | Болт | |
| 12 | ЭО-3322Д.23.02.003 | Гайка | |
| 13 | 314-02-71.00.610 | Трубопровод | |
| 14 | 314-02-71.00.600 | Трубопровод | |
| 15 | ЭО-3322А.66.01.001 | Скоба | |
| 16 | 7798.М8-8gх30.58.019 | Болт | |
| 17 | 6402.8.65Г.019 | Шайба | |
| 18 | 314-02-71.00.630 | Трубопровод | |
| 19 | 314-02-71.00.660 | Трубопровод | |
| 20 | ЭО-3322Б.60.05.000 | Клапан пневмогидравлический | |
| 21 | 7798.М10-8gх20.58.019 | Болт | |
| 22 | 6402.10.65Г.019 | Шайба | |
| 23 | 7798.М8-8gх.50.58.019 | Болт | |
| 24 | 5915.М8-7Н.5.019 | Гайка | |
| 25 | ЭО-3323А.71.82.000 | Гидроцилиндр выносных опор | |
| 26 | 13.71.80.630 | Гидрозамок двухсторонний | |
| 27 | ТУ22-4756-8.РВД 12х650 | Рукав | |
| 28 | ЭО-3323.20.83.230 | Трубопровод | |
| 29 | 08.20.70.060 | Трубопровод | |
| 30 | 314-02-71.00.670 | Трубопровод | |
| 31 | 314-02-71.00.680 | Трубопровод | |
| 32 | 314-02-71.00.620 | Трубопровод | |
| 33 | РВД 12х1250 | Рукав | |
| 34 | РВД 20х850 | Рукав | |
| 35 | 314-02-71.00.850 | Коллектор центральный | |
| 36 | ЭО-3323А.71:80.400 | Цилиндр поворота колес левый | |
| 37 | 314-07-71.00.4 50 | Кран буксировочный | |
| 38 | 7798.М10-8gх35.58.019 | Болт | |
| 39 | ЭО-3323А.71.80.030 | Трубопровод | |
| 40 | ЭО-3322В.20.01.001 | Тройник | |
| 41 | ЭО-3322В.47.20.002 | Хомут | |
| 42 | ЭО-3323А.71.80.060 | Трубопровод | |
| 43 | 314-02-71.00.790 | Трубопровод | |
| 44 | ЭО-3323А.71.80.050 | Трубопровод | |
| 45 | РВД 20х650 | Рукав | |
| 46 | ЭО-3323.08.01.050 | Трубопровод | |
| 47 | ЭО-3323.01.80.004 | Фланец | |
| 48 | 7798.М10-8gх40.109.019 | Болт | |
| 49 | 9833.030-035-30-2-2 | Кольцо | |
| 50 | У4620.41.00.000 | Гидроклапан противообгонный | |
| 51 | 314-02-71.00.750 | Фланец | |
| 52 | 9833.038-044-36-2-2 | Кольцо | |
| 53 | 7798.М12-8gх110.88.019 | Болт | |
| 54 | 5915.М12-7Н.5.019 | Гайка | |
| 55 | 6402.12.65Г.019 | Шайба | |
| 56 | 314-02-71.00.001 | Шпилька | |
| 57 | 314-02-71.00.740 | Трубопровод | |
| 58 | 314-02-71.00.730 | Трубопровод | |
| 59 | ЭО-3323А.23.02.001 | Штуцер | |
| 60 | 23358.18М3 | Прокладка | |
| 61 | 7798.М12-8gх35.88.019 | Болт | |
| 62 | ЭО-3322Д.23.03.009 | Штуцер | |
| 63 | Д18055А | Кольцо | |
| 64 | 23358.14МЗ | Прокладка | |
| 65 | ЭО-3322А.24.01.009 | Штуцер | |
| 66 | ЭО-3323А.71.80.300 | Гидроцилиндр | |
| 67 | 314-02-71.00.810 | Трубопровод | |
| 68 | ЭО-3323А.71.80.020 | Трубопровод | |
| 69 | ЭО-3323А.71.80.010 | Трубопровод |