В товарах В каталоге запчастей

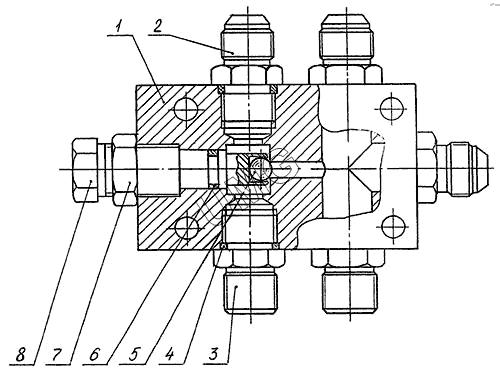
E185W (ЕК-18). 314-02-71.00.450 Кран буксировочный

zoom-in zoom-out enlarge shrink circle-right circle-left file-text2 info cart
1
2
3
4
5
6
7
8
Позиция на иллюстрации Заводской номер детали Название детали
1 314-02-71.00.451 Корпус
2 ЭО-3323.07.13.005 Штуцер
3 ЭО-3323.20.83.013 Штуцер
4 9833.018-022-25-2-2 Кольцо
5 3722.Б10-100 Шарик
6 9833.012-016-25-2-2 Кольцо
7 ЭО-3322Д.23.02.003 Гайка
8 ЭО-3322А.04.31.611-10 Винт запорный
АвтоКаталог-онлайн предоставлен Компанией АвтоСофт