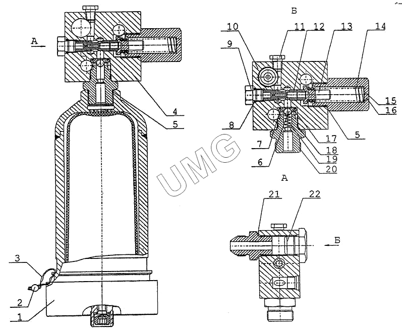
E185W (ЕК-18). 64002.10.000 Пневмогидроаккумулятор с гидроклапанами
1
2
3
4
5
5
6
7
8
9
10
11
12
13
14
15
16
17
18
19
20
21
22
| Позиция на иллюстрации | Заводской номер детали | Название детали | |
|---|---|---|---|
| 1 | 64020.00.000 | Пневмогидроаккумулятор | |
| 2 | ОСТ3268.10/6.5 | Пломба | |
| 3 | 3282.1-0-С | Проволока L=100 мм | |
| 4 | 64011.10.000 | Блок гидроклапанов | |
| 5 | 9833.024-028-25-2-3 | Кольцо | |
| 6 | 3722.Б8.0-60 | Шарик | |
| 7 | 9833.014-018-25-2-3 | Кольцо | |
| 8 | 9833.012-016-25-2-3 | Кольцо | |
| 9 | 64011.00.120-20 | Пробка | |
| 10 | 64011.00.010-20 | Корпус | |
| 11 | 13.04.02.108 | Пробка | |
| 12 | 64011.00.030-20 | Золотник | |
| 13 | 64011.00.050-30 | Упор пружины | |
| 14 | 64011.00.070-20 | Пружина | |
| 15 | 23.04.06.107 | Шайба | |
| 16 | 64011.00.080-30 | Стакан | |
| 17 | 64011.00.100 | Седло | |
| 18 | 9833.018-022-25.2.3 | Кольцо | |
| 19 | 64011.00.110 | Пружина | |
| 20 | 64011.00.090 | Штуцер | |
| 21 | ЭО-3323.07.13.005 | Штуцер | |
| 22 | ЭО-3323.20.83.071 | Заглушка |