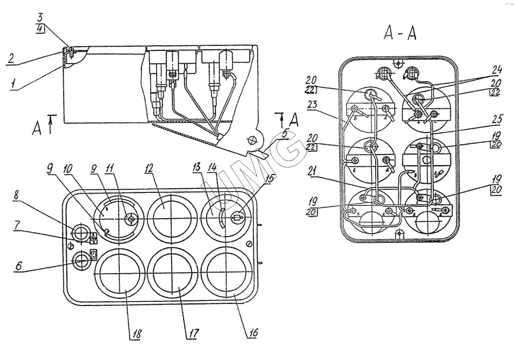
E185W (ЕК-18). 314-02-85.03.600 Щиток приборов
1
2
3
4
5
6
7
8
9
9
10
11
12
13
14
15
16
17
18
19
19
19
20
20
20
20
20
20
21
22
22
22
23
24
25
| Позиция на иллюстрации | Заводской номер детали | Название детали | |
|---|---|---|---|
| 1 | 314-02-85.03.610 | Корпус | |
| 2 | 314-02-85.03.601 | Крышка | |
| 3 | 17473.М4х12.58.019 | Винт | |
| 4 | 11371.4.01.019 | Шайба | |
| 5 | 314-02-85.03.620 | Жгут проводов | |
| 6 | 314-02-85.03.602-01 | Табличка | |
| 7 | 314-02-85.03.602 | Табличка | |
| 8 | ПД 20Е | Фонарь контрольной лампы | |
| 9 | 314-02-85.03.603 | Наклейка | |
| 10 | УК 146 | Указатель давления | |
| 11 | 23.01.02.102 | Табличка | |
| 12 | 13.3806 | Указатель давления | |
| 13 | УК 133АМ | Указатель температуры | |
| 14 | 23.07.02.108 | Табличка | |
| 15 | 23.01.02.102-20 | Табличка | |
| 16 | УК 133АВ | Указатель температуры | |
| 17 | 15.3810 | Указатель давления | |
| 18 | 1700.АП110 | Амперметр | |
| 19 | ЛВ 211-329 | Патрон лампы | |
| 20 | 2023.А12-1 | Лампа | |
| 21 | 314-02-85.03.640 | Провод | |
| 22 | ПП1-200 | Патрон лампы | |
| 23 | 314-02-85.03.630 | Провод | |
| 24 | ЭО-3322А.12.20.200 | Привод | |
| 25 | 314-02-85.03.650 | Провод |