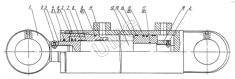
E145W (ЕК-14). Гидроцилиндр
1
2
2
2
3
4
5
5
6
7
8
9
10
11
11
12
12
13
14
15
16
17
18
19
| Позиция на иллюстрации | Заводской номер детали | Название детали | |
|---|---|---|---|
| 1 | 08.46.99.001 | Проушина | |
| 2 | 1476.ВМ8-8gх12.14Н.019 | Винт | |
| 3 | 313-00-23.94.002 | Гайка наружная | |
| 4 | ТУ18.0107.Е52-070 | Грязесъемник | |
| 5 | 01-070 | Кольцо | |
| 6 | ТУ18.0101.Е1-070-3 | Кольцо | |
| 7 | ТУ18.0106.Е22-070-30-2.5 | Кольцо | |
| 8 | 313-00-23.94.004 | Букса | |
| 9 | 313-00-23.94.008 | Кольцо защитное | |
| 10 | 9833.100х110-58-2-2 | Кольцо | |
| 11 | 313-00-23.94.100 | Цилиндр | |
| 11 | 313-00-23.95.100 | Цилиндр | |
| 12 | 313-00-23.94.005 | Шток | |
| 12 | 313-00-23.95.005 | Шток | |
| 13 | 313-00-23.94.026 | Поршень | |
| 14 | ТУ18.0105.Е21-110-12-3,0 | Кольцо | |
| 15 | ТУ18.0104.Е13-110-3 | Кольцо | |
| 16 | 02-110 | Кольцо | |
| 17 | ЭО-3323А.71.80.109 | Кольцо защитное | |
| 18 | 9833.055-060-30-2-2 | Кольцо | |
| 19 | 08.46.99.007-10 | Гайка |