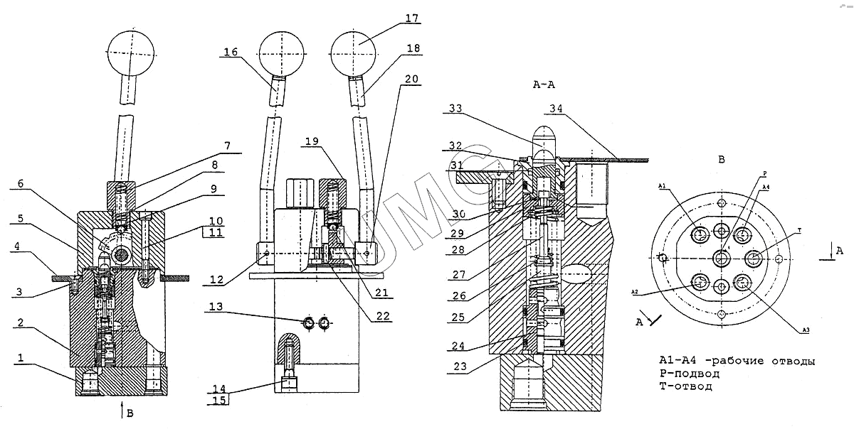
E145W (ЕК-14). Блок управления
1
2
3
4
5
6
7
8
9
10
11
12
13
14
15
16
17
18
19
20
21
22
23
24
25
26
27
28
29
30
31
32
33
34
| Позиция на иллюстрации | Заводской номер детали | Название детали | |
|---|---|---|---|
| 1 | 13.80.04.602-30 | Крышка | |
| 2 | 13.80.04.501 | Корпус | |
| 3 | 17475.М6-8gх14.58.019 | Винт | |
| 4 | 13.80.04.503 | Фланец | |
| 5 | 13.80.04.401 | Крышка | |
| 6 | 13.80.04.702 | Кулачок | |
| 7 | 13.80.04.706 | Пружина | |
| 8 | 13.80.04.705 | Прокладка | |
| 9 | 13.80.04.704 | Толкатель фиксатора | |
| 10 | 11738.М6-8gх55.58.019 | Винт | |
| 11 | 6402.6.65.019 | Шайба | |
| 12 | 13.80.04.712 | Штифт | |
| 13 | 13.80.04.618 | Пробка | |
| 14 | 11738.М6-8gх30.58.019 | Винт | |
| 15 | 6402.8.65Г.019 | Шайба | |
| 16 | 13.80.04.708-31 | Рычаг | |
| 17 | 51.1703.88 | Головка шаровая | |
| 18 | 13.80.04.708-30 | Рычаг | |
| 19 | 13.80.04.707 | Корпус фиксатора | |
| 20 | 13.80.04.7b9 | Ось кулачка | |
| 21 | 3722.Б6,0-60 | Шарик | |
| 22 | 13.80.04.711 | Штифт | |
| 23 | 9833.014-018-25-2-3 | Кольцо | |
| 24 | 13.80.04.514 | Втулка нижняя | |
| 25 | 13.80.04.612 | Втулка | |
| 26 | 13.80.04.611-20 | Пружина | |
| 27 | 13.80.04.510 | Золотник | |
| 28 | 13.80.04.613 | Пружина | |
| 29 | 13.80.04.519 | Упор | |
| 30 | 13.80.04.518 | Шайба | |
| 31 | 601.00.00.014 | Манжета 10х13.6 | |
| 32 | 13.80.04.507 | Втулка верхняя | |
| 33 | 13.80.04.566 | Толкатель | |
| 34 | 13.80.04.710 | Крышка |