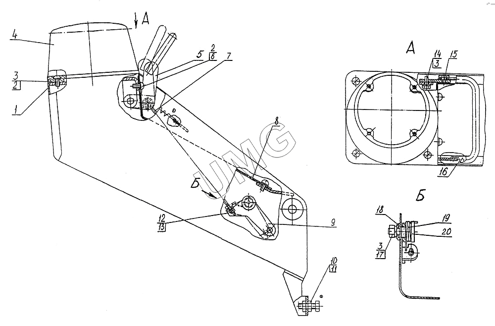
E145W (ЕК-14). Консоль левая
1
2
2
3
3
3
4
5
6
7
8
9
10
11
12
13
14
15
16
17
18
19
20
| Позиция на иллюстрации | Заводской номер детали | Название детали | |
|---|---|---|---|
| 1 | 13.01.03.210 | Консоль пульта | |
| 2 | 17473.В1М6-8gх14.58.019 | Винт | |
| 3 | 6402.6.65Г.019 | Шайба | |
| 4 | 13.01.03.201 | Проставка | |
| 5 | 13.01.03.230 | Рукоятка | |
| 6 | 11371.6.01.019 | Шайба | |
| 7 | 13.01.03.202 | Тяга | |
| 8 | 13.01.03.220 | Крышка | |
| 9 | 13.01.03.240 | Фиксатор | |
| 10 | 7798.М8-8gх30.58.019 | Болт | |
| 11 | 5915.М8-7Н.5.019 | Гайка | |
| 12 | 5916.М4-7Н.04.019 | Гайка | |
| 13 | 11371.4.01.019 | Шайба | |
| 14 | 13.01.03.205 | Ось рукоятки | |
| 15 | 13.01.03.206 | Ось тяги | |
| 16 | ЭО-3323А.01.10.002 | Пружина | |
| 17 | 5915.М6-7Н.5.019 | Гайка | |
| 18 | 13.01,03.208 | Шайба | |
| 19 | 13.01.03.203 | Пружина | |
| 20 | 13.01.03.207 | Ось фиксатора |