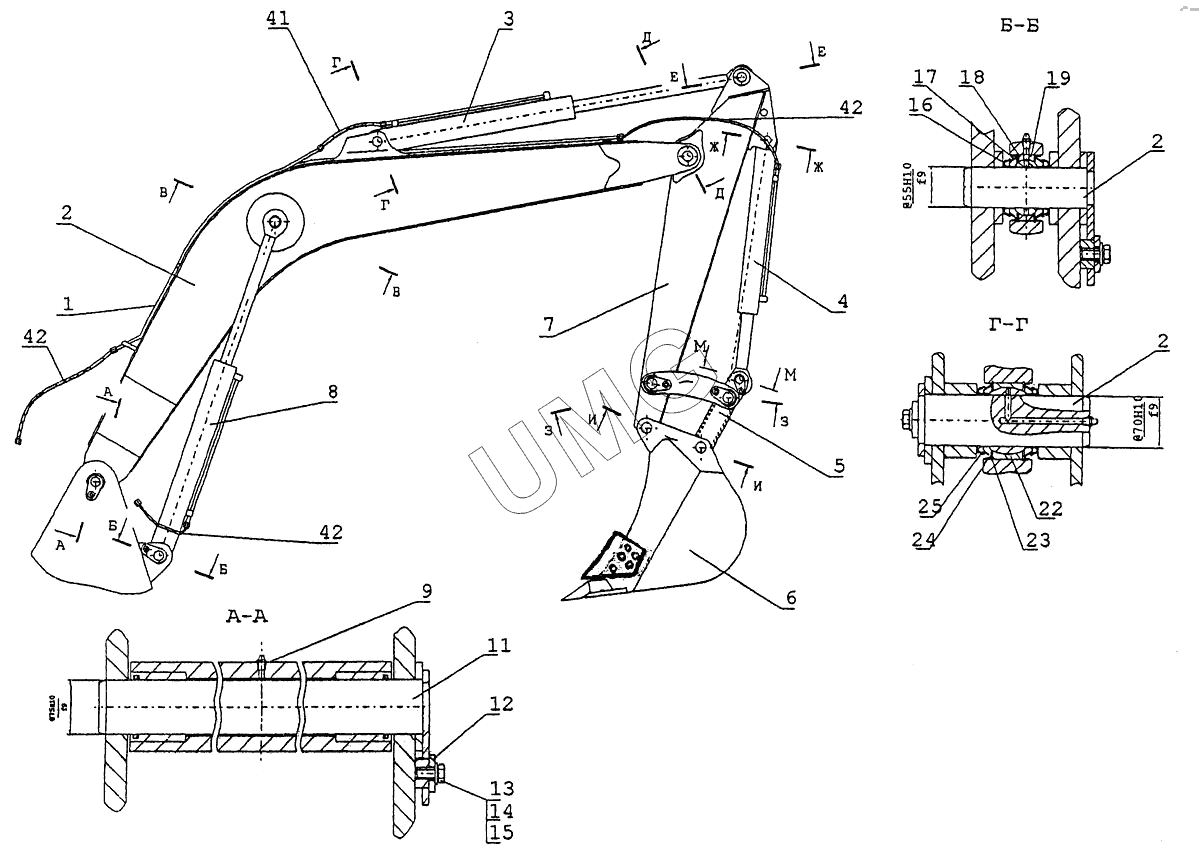
E145W (ЕК-14). Рабочее оборудование обратной лопаты
1
2
2
2
3
4
5
5
6
7
8
9
11
12
13
14
15
16
17
18
19
19
22
22
23
24
41
42
42
42
| Позиция на иллюстрации | Заводской номер детали | Название детали | |
|---|---|---|---|
| ЭО-3322А.25.00.001 | ЭО-3322А.25.00.001 | Кольцо распорное | |
| 1 | 314-02-23.80.000 | Трубопроводы рабочего оборудования | |
| 2 | 314-03-23.01.700 | Стрела | |
| 3 | 125-90-11.01.000 | Гидроцилиндр (125х90х1 100) | |
| 4 | 313-00-23.94.000 | Гидроцилиндр (11 0х70х9 00) | |
| 5 | 314-03-23.14.000 | Тяга | |
| 5 | 314-03-23.14.100 | Тяга | |
| 6 | 314-63-23.21.100 | Ковш обратной лопаты Vн=0,8м3 | |
| 7 | 314-03-23.11.400 | Рукоять (L=1900) | |
| 8 | 313-00-23.95.000-10 | Гидроцилиндр (110х70х1100) | |
| 9 | 19853.1.3ц6хр | Масленка | |
| 10 | 6467.4С06,3 | Шнур (L=250) | |
| 11 | 314-02-23.50.510 | Палец в сборе | |
| 12 | ЭО-3322А.02.00.010 | Шайба упорная | |
| 13 | 7798.М16х30.58.019 | Болт | |
| 14 | 11371.16.01.08кп019 | Шайба | |
| 15 | 6402.16.65Г.019 | Шайба | |
| 16 | ЕК16.64.00.001 | Кольцо распорное | |
| 17 | ЕК16.64.00.002 | Кольцо уплотнительное | |
| 18 | 13943.В85 | Кольцо | |
| 19 | 3635.ШС55К | Подшипник | |
| 19 | 314-03-23.16.100 | Подшипник | |
| 20 | 314-02-23.50.520 | Палец в сборе | |
| 21 | 314-02-23.50.600 | Палец в сборе | |
| 22 | 314-03-23.16.000 | Подшипник | |
| 22 | 3635.ШС70К | Подшипник | |
| 23 | 13943.В105 | Кольцо | |
| 24 | ЭО-3322А.25.00.002 | Кольцо уплотнительное | |
| 26 | 5915.М16-7Н.5 | Гайка | |
| 27 | 1481.ВМ16-8g.40.14-1 | Винт | |
| 28 | 314-02-23.50.503-10 | Палец | |
| 29 | 314-03-23.15.100 | Щека левая | |
| 29 | 314-03-23.15.005 | Щека | |
| 30 | 314-02-23.50.540 | Палец в сборе | |
| 31 | 314-03-23.15.005 | Щека | |
| 31 | 314-03-23.15.000 | Щека правая | |
| 32 | Э302-4-0900-02 | Шайба торцовая | |
| 33 | 7798.М16х35.58.019 | Болт | |
| 34 | 314-02-23.50.570 | Палец в сборе | |
| 35 | 314-03-23.50.610 | Палец в сборе | |
| 37 | 314-02-23.50.580 | Палец в сборе | |
| 38 | 314-02-23.50.590 | Палец в сборе | |
| 39 | 314-02-23.50.550 | Палец в сборе | |
| 40 | 314-02-23.50.560 | Палец в сборе | |
| 41 | ТУ22-4584.РВД20-30-650 | Рукав | |
| 42 | ТУ22-4584.РВД20-30-1250 | Рукав |