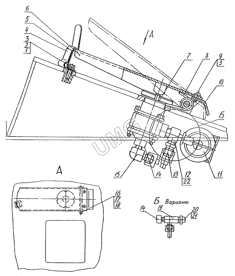
E145W (ЕК-14). Установка педали тормоза хода
1
2
3
3
4
5
6
7
8
9
10
11
12
13
14
14
15
16
17
18
19
20
21
22
| Позиция на иллюстрации | Заводской номер детали | Название детали | |
|---|---|---|---|
| 1 | 7798.М6-8gх20.58.019 | Болт | |
| 2 | 6402.6.65Г.019 | Шайба | |
| 3 | 11371.6.01.019 | Шайба | |
| 4 | 13.01.03.016 | Прижим | |
| 5 | 13.01.03.017 | Фиксатор | |
| 6 | 13.01.03.011 | Педаль | |
| 7 | Э302-1-1201-17 | Шайба стопорная | |
| 8 | ЭО-3322А.09.02.001 | Пружина | |
| 9 | 17473.В1М6-80х12.58.019 | Винт | |
| 10 | 13.01.03.013 | Упор | |
| 11 | ВК13 | Включатель стоп-сигнала | |
| 12 | ЭО-3323.07.00.009 | Тройник соединительный | |
| 13 | ЭО-3323А.23.03.004 | Штуцер | |
| 14 | ЭО-3323.07.06.400 | Золотник дифференциальный | |
| 15 | ЭО-3322А.09.20.009 | Угольник | |
| 16 | 13.01.03.015 | Ось | |
| 17 | 11371.8.01.019 | Шайба | |
| 18 | 397.2х14.019 | Шплинт | |
| 19 | 005-01-81.00.001 | Тройник | |
| 20 | 23358.12М3 | Прокладка | |
| 21 | ММ125 | Датчик | |
| 22 | ЭО-3322А.09.30.008 | Штуцер |