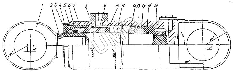
ЕК-12. Гидроцилиндр выносных опор
1
2
3
3
4
5
6
7
8
8
9
9
10
10
11
12
12
13
13
14
15
15
| Позиция на иллюстрации | Заводской номер детали | Название детали | |
|---|---|---|---|
| 1 | ЭО-3323А.71.82.001-11 | Проушина | |
| 2 | 1476. ВМ8-8gх12 | Винт | |
| 3 | Е52-080 | Грязесъемник | |
| 3 | 01.080 | Кольцо | |
| 4 | ЭО-23323А.71.82.002 | Гайка наружная | |
| 5 | ЭО-3323А.71.82.003-01 | Кольцо | |
| 6 | Е3-80-4 | Манжета | |
| 7 | ЭО-3323А.71.82.004 | Букса | |
| 8 | 9833.115-125-58-2-3 | Кольцо | |
| 8 | ЭО-3323А.71.82.013 | Кольцо защитное | |
| 9 | 00.00.12.080 | Опорно-направляющее кольцо | |
| 9 | Е22-080-30-3.0 | Опорно-направляющее кольцо | |
| 10 | ЭО-3323А71.82.200 | Цилиндр | |
| 10 | ЭО-3323А71.82.100 | Цилиндр | |
| 11 | ЭО-3323А.71.82.005-10 | Шток | |
| 12 | Е21-125-15-3,0 | Опорно-направляющее кольцо | |
| 12 | 00.00.11.125 | Опорно-направляющее кольцо | |
| 13 | Е21-125 | Уплотнение поршня | |
| 13 | 02-125 | Уплотнение поршня | |
| 14 | ЭО-3323А.71.82.006-01 | Поршень | |
| 15 | 9833.070-080-58-2-3 | Кольцо | |
| 15 | ЭО-3323А.71.82.012 | Кольцо защитное | |
| 16 | ЭО-3323А.71.32.020 | Гайка |