В товарах В каталоге запчастей

ЕК-12. Фильтр

zoom-in zoom-out enlarge shrink circle-right circle-left file-text2 info cart
1
2
2
2
3
4
4
5
6
7
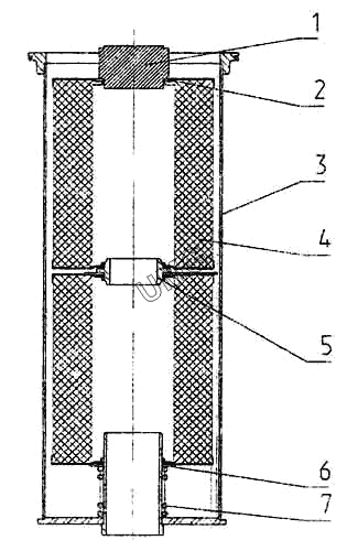
Позиция на иллюстрации Заводской номер детали Название детали
1 ЭО-3323А.08.10.002 Заглушка
2 23.01.84.301 Кольцо уплотнительное
2 23.01.84.303 Кольцо уплотнительное
2 Кольцо уплотнительное от фильтра «Реготмас 661-1-05» Кольцо уплотнительное от фильтра «Реготмас 661-1-05»
3 005-04-80.01.010 Корпус
4 Реготмас 661-1-05 Элемент фильтрующий
4 55Р-661А-1-06 Элемент фильтрующий
5 23.01.84.340 Шайба промежуточная
6 23.01.84.302 Шайба
7 23.01.84.305 Пружина
АвтоКаталог-онлайн предоставлен Компанией АвтоСофт