В товарах В каталоге запчастей

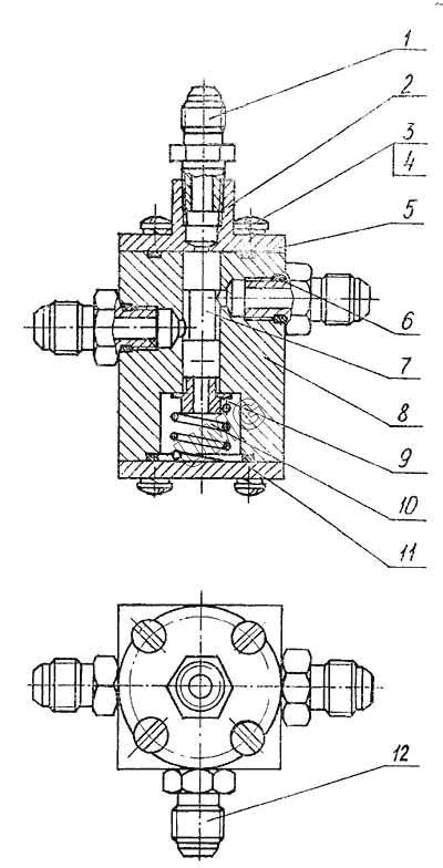
ЕК-12. Гидрораспределитель

zoom-in zoom-out enlarge shrink circle-right circle-left file-text2 info cart
1
2
3
4
5
6
7
8
9
10
11
12
Позиция на иллюстрации Заводской номер детали Название детали
1 ЭО-3322А.24.00.005 Штуцер
2 ЭО-3323.07.10.011 Крышка
3 27473.М6х8g12.58.019 Винт
4 6402.6.65Г.019 Шайба
5 9833.030-035-30-2-3 Кольцо
6 9833.012-016-25-2-3 Кольцо
7 ЭО-3323.07.10.012 Золотник
8 ЭО-3323.07.10.0!3 Корпус
9 ЭО-3323.07.10.014 Тарелка
10 ЭО-3323.07Л0.015-10 Пружина
11 ЭО-3323.07.10.016 Крышка
12 520.20.20.025 Штуцер
АвтоКаталог-онлайн предоставлен Компанией АвтоСофт