E225NC. Пост управления экскаватором. 405-00-25.00.000
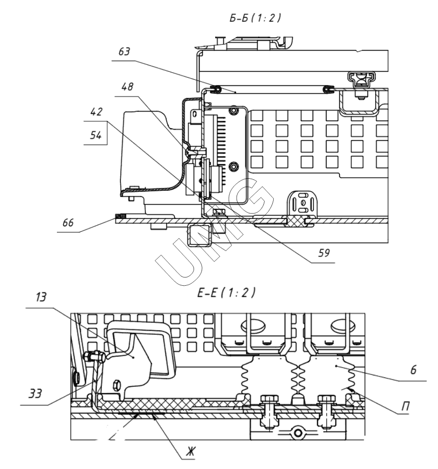
6
13
33
42
48
54
59
63
66
| Позиция на иллюстрации | Заводской номер детали | Название детали | |
|---|---|---|---|
| ЭМ000001609 | ЭМ000001609 | Хомут | |
| 405-00-25.00.900 | 405-00-25.00.900 | Установка виброизоляции | |
| 1 | 405-00-25.01.000 | Металлоконструкция пола | |
| 2 | 405-00-25.02.000-20 | Установка пультов | |
| 6 | 220-70-42.21.000 | Гидроуправление в кабине | |
| 7 | 220-70-30.30.000 | Электрооборудование в кабине | |
| 10 | 405-00-25.00.100 | Основание | |
| 13 | 272.03.00.00.620 | Подножка | |
| 14 | 272.03.00.00.620-01 | Подножка | |
| 25 | 272.03.00.00.001-05 | Коврик | |
| 26 | 202.03.00.00.002-02 | Планка | |
| 28 | 202.03.00.00.003 | Фильтр | |
| 29 | 202.03.00.00.004-02 | Решетка передняя | |
| 30 | 202.03.00.00.005 | Лист перфорированный | |
| 31 | 405-00-25.00.007 | Крышка | |
| 33 | 272.03.00.00.008 | Кронштейн педалей | |
| 35 | 405-00-25.00.014 | Скоба | |
| 38 | 142.62.10.001 | Втулка уплотнительная | |
| 42 | 02120000064 | Болт | |
| 45 | 26950000545 | Винт | |
| 47 | 02120000099 | Винт | |
| 48 | ЭМ000002763 | Винт | |
| 50 | 02120000136 | Гайка | |
| 54 | 02120000635 | Шайба | |
| 57 | 02120000625 | Шайба | |
| 59 | ЭМ000010530 | Заклепка-гайка | |
| 60 | 26950016122 | Накладка педали сцепления | |
| 63 | 26950010548 | Уплотнитель резиновый | |
| 66 | ЭМ000002661 | Резина автоклавная | |
| 68 | ЭМ000009889 | Рукава |