В товарах В каталоге запчастей

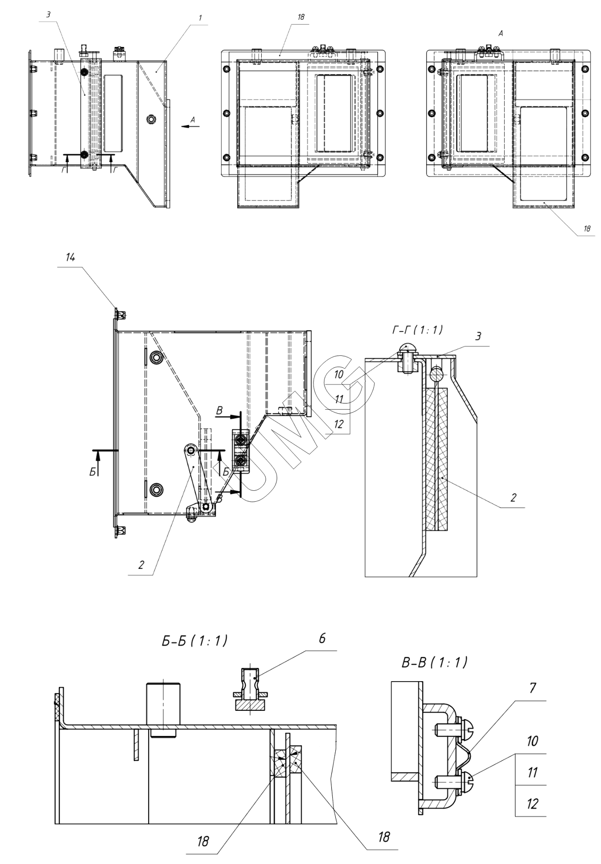
E170W. Регулятор воздуха в сборе. 405-00-23.82.000

zoom-in zoom-out enlarge shrink circle-right circle-left file-text2 info cart
1
3
3
6
7
10
10
11
11
12
12
14
18
18
18
18
Позиция на иллюстрации Заводской номер детали Название детали
1 405-00-23.82.100 Корпус регулятора
3 405-00-23.82.200 Заслонка
6 000070203005 00 Палец
7 314-02-03.02.003 Скоба
10 000026420216 01 Винт
11 000026440204 01 Шайба
12 000026440606 01 Шайба плоская
14 000026410251 01 Заклепка-гайка
18 000064450201 01 Резина автоклавная
АвтоКаталог-онлайн предоставлен Компанией АвтоСофт