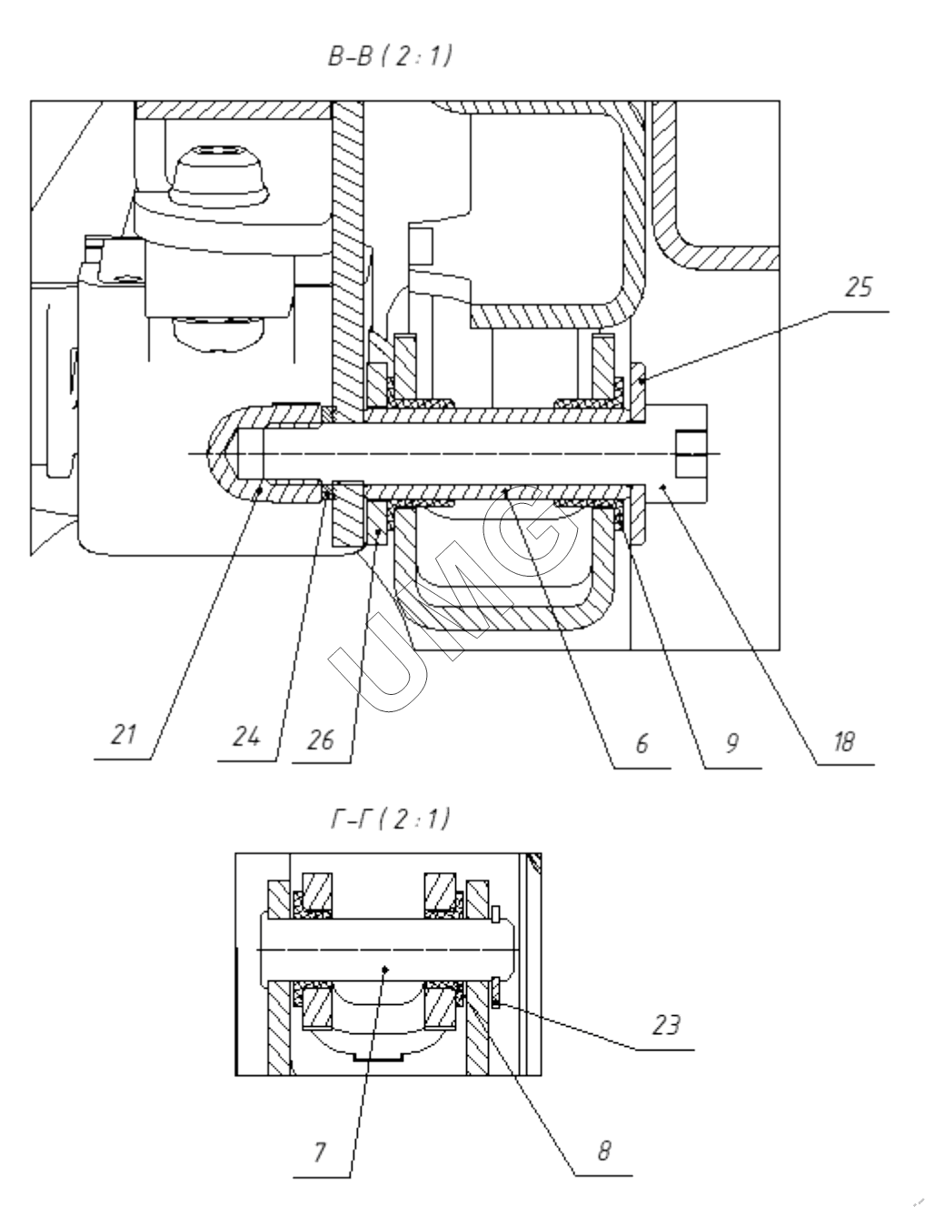
E170W. Установка передней рамки. 405-00-23.30.000
6
7
8
9
18
21
23
24
25
26
| Позиция на иллюстрации | Заводской номер детали | Название детали | |
|---|---|---|---|
| 1 | 405-00-23.31.000 | Рамка передняя | |
| 2 | 405-00-23.30.001 | Рычаг левый | |
| 3 | 405-00-23.30.002 | Рычаг правый | |
| 4 | 202.02.01.30.002 | Втулка | |
| 5 | 202.02.01.30.003 | Втулка | |
| 6 | 202.02.01.30.004 | Втулка | |
| 7 | 202.02.01.30.005 | Ось | |
| 8 | 202.02.01.30.006 | Подшипник скольжения | |
| 9 | 202.02.01.30.007 | Подшипник скольжения | |
| 17 | 841212100004 00 | Амортизатор | |
| 18 | 000026420454 01 | Винт | |
| 21 | 000026403108 01 | Гайка | |
| 23 | 000026440667 01 | Шайба | |
| 24 | 000026440205 01 | Шайба | |
| 25 | 000026440192 01 | Шайба | |
| 26 | 000026440612 01 | Шайба | |
| 29 | 000913402834 01 | Пружина газовая |