E170W. Кабина в сборе с FOPS ROPS. 405-00-23.00.000-21
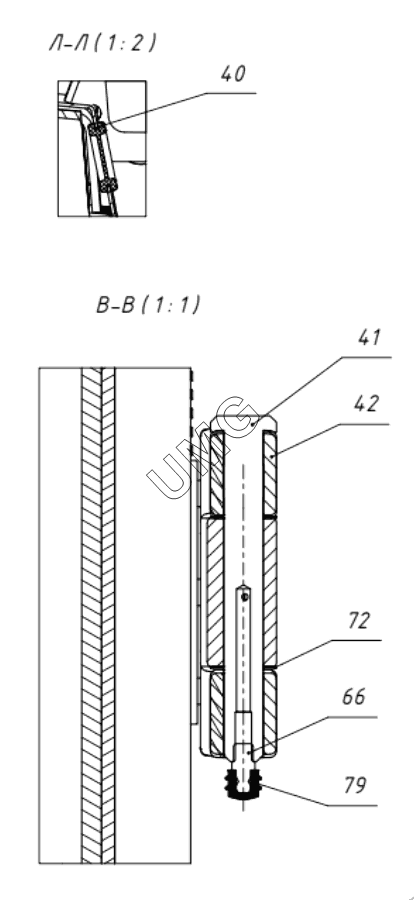
40
41
42
66
72
| Позиция на иллюстрации | Заводской номер детали | Название детали | |
|---|---|---|---|
| 1 | 405-00-23.10.000 | Металлоконструкция кабины | |
| 2 | 405-00-23.30.000 | Установка передней рамки | |
| 4 | 405-00-23.40.000-19 | Дверь в сборе | |
| 6 | 405-00-23.60.000 | Установка интерьера | |
| 8 | 405-00-23.70.000 | Установка стекол | |
| 10 | 405-00-23.80.000 | Установка климатической системы | |
| 11 | 405-00-23.86.000 | Форточка задняя | |
| 13 | 405-00-23.95.000-11 | Установка наружней облицовки | |
| 15 | 405-00-23.00.100 | Поручень | |
| 18 | 405-00-23.00.400 | Решетка задняя | |
| 19 | 405-00-23.00.500 | Установка фиксатора двери | |
| 20 | 405-00-23.00.600 | Люк задний | |
| 24 | 405-00-23.00.930 | Установка шумоизоляции | |
| 28 | 272.02.21.00.004 | Кронштейн щетки | |
| 30 | 405-00-23.00.006 | Штырь | |
| 31 | 405-00-23.00.007 | Крыша | |
| 32 | 405-00-23.00.008 | Планка | |
| 33 | 202.02.01.00.009 | Штырь | |
| 34 | 202.02.01.00.008 | Планка резьбовая | |
| 38 | 202.02.01.00.016 | Втулка предохранительная | |
| 39 | 202.02.01.00.017 | Втулка предохранительная | |
| 40 | 202.02.01.00.018 | Втулка предохранительная | |
| 41 | 202.02.01.00.024 | Ось петли | |
| 42 | 202.02.01.00.025 | Петля | |
| 46 | 272.02.21.00.011 | Шайба | |
| 57 | 000026400868 01 | Болт | |
| 58 | 000026420307 01 | Винт | |
| 59 | 000026430040 01 | Винт | |
| 60 | 000026430038 01 | Винт | |
| 61 | 000026430105 01 | Винт | |
| 62 | 000026430108 01 | Винт | |
| 63 | 000026410608 01 | Гайка | |
| 66 | 000027400008 01 | Масленка | |
| 69 | 000026440205 01 | Шайба | |
| 71 | 000026440207 01 | Шайба | |
| 72 | 000026442521 01 | Шайба регулировочная, плоская | |
| 73 | 000026440610 01 | Шайба | |
| 74 | 000924000100 01 | Молоток для аварийного выхода | |
| 75 | 000027401063 01 | Колпачок с язычком для прессмасленок | |
| 77 | 000026410252 01 | Заклепка-гайка | |
| 78 | 000026410251 01 | Заклепка-гайка | |
| 80 | 000040400003 01 | Резиновый буфер | |
| 81 | 000918204059 01 | Автомобильная шторка солнцезащитная |