Товары
Каталог запчастей
Личный кабинет
Авторизация
Портал для заказа запасных частей
В товарах
В каталоге запчастей
Внимание!!! Сайт только для тестирования.
Каталоги запчастей к технике UMG
ТВЭКС
E170W
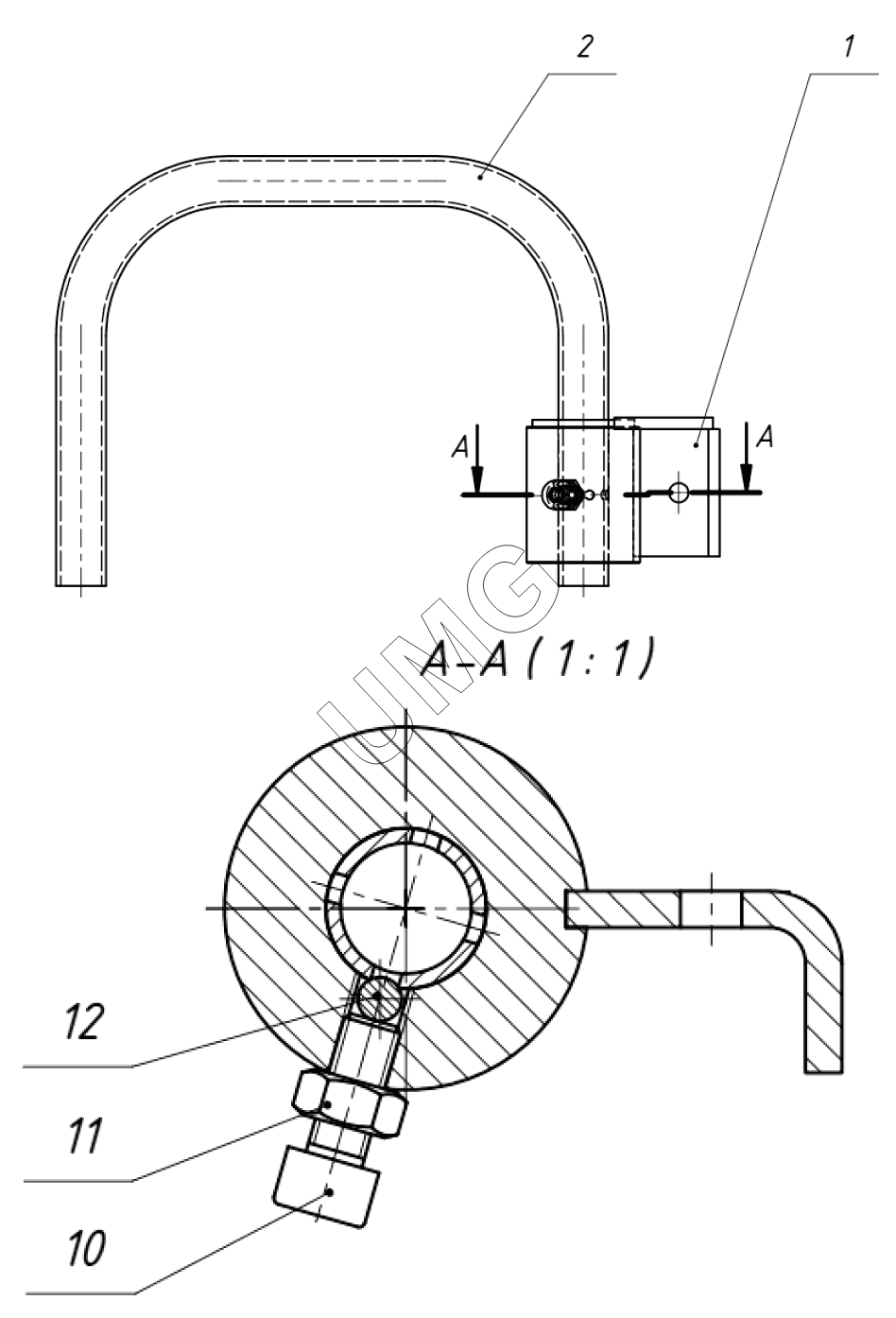
Кронштейн зеркала в сборе. 272.02.21.00.300
E170W. Кронштейн зеркала в сборе. 272.02.21.00.300
zoom-in
zoom-out
enlarge
shrink
circle-right
circle-left
file-text2
info
cart
1
2
10
11
12
Позиция на иллюстрации
Заводской номер детали
Название детали
1
272.02.21.00.320
Кронштейн
2
272.02.21.00.330
Труба
10
000026420176 01
Винт
11
000026410608 01
Гайка
12
000950000006 01
Шарик
Дополнительная информация
×
Название:
Номер:
Примечание:
АвтоКаталог-онлайн предоставлен
Компанией АвтоСофт