E170W. Установка блока радиаторов. 170-17-28.03.000-01
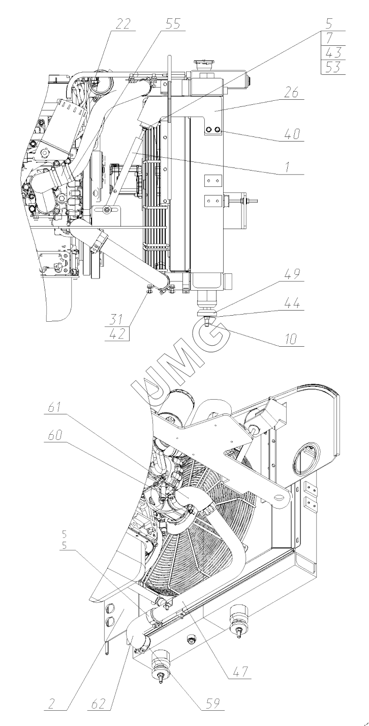
1
2
5
5
5
7
10
22
26
31
40
42
43
44
47
49
53
55
59
60
61
62
| Позиция на иллюстрации | Заводской номер детали | Название детали | |
|---|---|---|---|
| 000933140720 01 | 000933140720 01 | Расширительный бачок | |
| 195-17-28.03.003 | 195-17-28.03.003 | Кронштейн расширительного бачка | |
| 1 | 195-17-28.03.140 | Растяжка | |
| 2 | 195-17-28.03.150 | Перегородка | |
| 5 | 130-00-28.06.004-01 | Шайба | |
| 6 | 130-00-28.06.004-02 | Шайба | |
| 7 | 130-00-28.06.008 | Втулка | |
| 10 | 130-00-28.07.023 | Шпилька | |
| 13 | 145-00-28.03.002 | Перегородка | |
| 14 | 145-00-28.03.028 | Шпилька | |
| 17 | 175-20-28.00.002 | Хомут | |
| 20 | 175-20-28.03.011 | Кронштейн | |
| 21 | 175-20-28.03.014 | Кронштейн растяжки | |
| 22 | 175-20-28.03.016 | Рукав | |
| 23 | 175-20-28.03.018 | Перегородка | |
| 26 | 195-17-28.03.001 | Кронштейн растяжки радиатора | |
| 27 | 195-17-28.03.002 | Перегородка | |
| 30 | 000026400107 01 | Болт | |
| 31 | 000026400121 01 | Болт | |
| 32 | 000026400221 01 | Болт | |
| 33 | 000026400226 01 | Болт | |
| 34 | 000026410823 01 | Гайка стопорная | |
| 35 | 000026440205 01 | Шайба | |
| 36 | 000026440206 01 | Шайба | |
| 37 | 000026440195 01 | Шайба | |
| 38 | 000026440610 01 | Шайба | |
| 39 | 000026400850 01 | Болт | |
| 40 | 000026400869 01 | Болт | |
| 41 | 000026401006 01 | Гайка | |
| 42 | 000026401007 01 | Гайка | |
| 43 | 000026401009 01 | Гайка | |
| 44 | 000026401011 01 | Гайка | |
| 47 | 000933140680 01 | Труба | |
| 48 | 000933140681 01 | Труба | |
| 49 | 000932603424 01 | Амортизатор | |
| 50 | 000923820475 01 | Зажим в сборе | |
| 51 | 000920600295 01 | Коннектор | |
| 52 | 000230404115 01 | Патрубок | |
| 53 | 000932603425 01 | Подушка амортизатора переднего | |
| 54 | 000933140719 01 | Радиатор | |
| 55 | 000923820011 01 | Хомут | |
| 56 | 000923820058 01 | Хомут | |
| 57 | 000923820349 01 | Хомут | |
| 58 | 000923820057 01 | Хомут | |
| 59 | 000923820343 01 | Хомут | |
| 60 | 000923820358 01 | Хомут усиленный | |
| 61 | 175-20-28.03.019 | Рукав | |
| 62 | 000230404008 01 | Шланг | |
| 65 | 000064202434 01 | Рукав | |
| 66 | 000064130272 01 | Рукава | |
| 67 | 000064120220 01 | Рукава | |
| 68 | 000064310416 01 | Уплотнитель резиновый армированный |