E170W. Установка силовая. 170-17-28.00.000
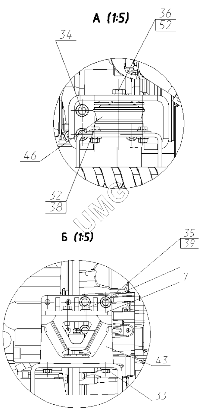
7
32
33
34
35
36
38
39
43
46
52
| Позиция на иллюстрации | Заводской номер детали | Название детали | |
|---|---|---|---|
| 1 | 170-17-28.04.000 | Установка воздушного фильтра | |
| 4 | 175-20-28.01.000-38 | Установка глушителя | |
| 7 | 175-30-28.00.300 | Кронштейн двигателя задний | |
| 10 | 195-17-28.02.000 | Установка насоса | |
| 13 | 170-17-28.03.000-01 | Установка блока радиаторов | |
| 16 | 195-17-28.05.000 | Установка топливопроводов | |
| 19 | 195-17-28.09.000-01 | Установка перегородок | |
| 22 | 202.12.10.00.030-30 | Опора | |
| 23 | 202.12.10.00.030-40 | Опора | |
| 26 | 195-17-28.00.001 | Кронштейн щупа | |
| 27 | 195-17-28.00.005 | Кронштейн | |
| 30 | 000026400850 01 | Болт | |
| 31 | 000026400926 01 | Болт | |
| 32 | 000026400886 01 | Болт | |
| 33 | 000026400863 01 | Болт | |
| 34 | 000026400849 01 | Болт | |
| 35 | 000026400334 01 | Болт | |
| 36 | 000026400568 01 | Болт | |
| 37 | 000026401006 01 | Гайка | |
| 38 | 000026401009 01 | Гайка | |
| 39 | 000026440207 01 | Шайба | |
| 42 | 000027520626 01 | Труба | |
| 43 | 000932603513 01 | Амортизатор | |
| 44 | 000931100454 01 | Дизельный двигатель | |
| 45 | 000923810153 01 | Компрессор кондиционера | |
| 46 | 000040400014 01 | Опора двигателя | |
| 47 | 000923820071 01 | Скоба резиноармированная | |
| 48 | 000923820316 01 | Скоба резиноармированная | |
| 49 | 000923820336 01 | Хомут | |
| 50 | 000923820059 01 | Хомут пластиковый | |
| 51 | 000923820333 01 | Хомут | |
| 52 | 000026442523 01 | Шайба |