E170W. Дверь в сборе. 405-00-23.40.000-19
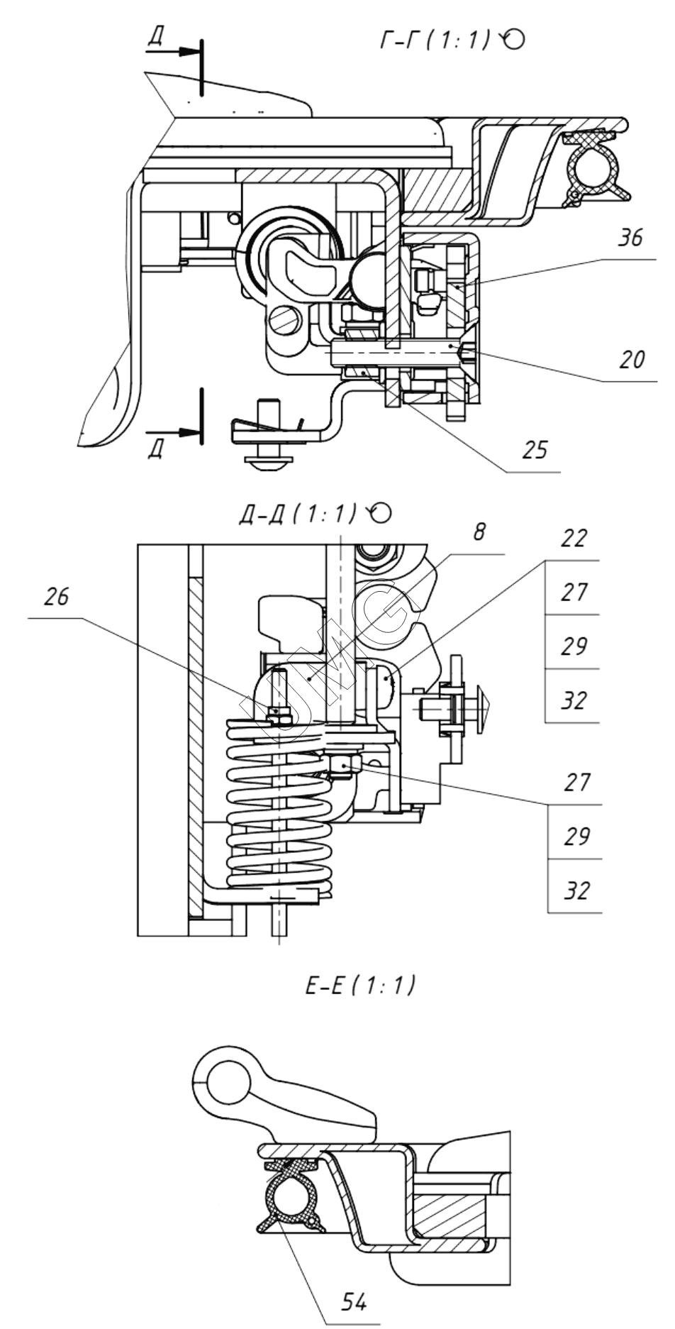
8
20
22
25
26
27
27
29
29
32
32
| Позиция на иллюстрации | Заводской номер детали | Название детали | |
|---|---|---|---|
| 1 | 405-00-23.41.000-10 | Металлоконструкция двери | |
| 2 | 405-00-23.40.100 | Скоба | |
| 3 | 272.02.21.23.000 | Рычаг | |
| 4 | 405-00-23.40.001 | Тяга | |
| 5 | 405-00-23.40.002 | Облицовка двери | |
| 6 | 405-00-23.40.004 | Виброизоляция | |
| 7 | 272.02.21.20.005 | Рычаг | |
| 8 | 272.02.21.20.006 | Рукоятка конусная | |
| 9 | 405-00-23.40.007 | Виброизоляция | |
| 10 | 405-00-23.40.008 | Шумоизоляция | |
| 11 | 405-00-23.40.009 | Шумоизоляция | |
| 14 | 405-00-23.40.013 | Накладка наружная | |
| 17 | 405-00-23.70.011 | Проставка | |
| 18 | 005040203002 00 | Пружина | |
| 20 | 000026430161 01 | Винт | |
| 21 | 000026420243 01 | Винт | |
| 22 | 000026420203 01 | Винт | |
| 23 | 000026430100 01 | Винт | |
| 24 | 000026403108 01 | Гайка | |
| 25 | 000026410909 01 | Гайка | |
| 26 | 000026410934 01 | Гайка | |
| 27 | 000026410606 01 | Гайка | |
| 29 | 000026440205 01 | Шайба | |
| 30 | 000026440204 01 | Шайба | |
| 32 | 000026440608 01 | Шайба | |
| 33 | 000026440606 01 | Шайба плоская | |
| 34 | 000026440604 01 | Шайба | |
| 35 | 000026440191 01 | Шайба | |
| 39 | 000940000071 01 | Замок-защелка | |
| 40 | 000940000070 01 | Ручка внешняя | |
| 41 | 000026410251 01 | Заклепка-гайка | |
| 42 | 000026482516 01 | Скоба резьбовая | |
| 43 | 000940000115 01 | Сетка багажная | |
| 44 | 405-00-23.70.200 | Стекло двери левое в сборе |