E160C CT. Рукоять в сборе с ковшевым механизмом. 140-47-80.20.000-53
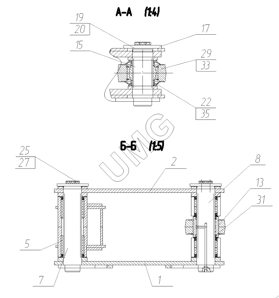
1
2
5
7
8
13
15
17
19
20
22
25
29
31
33
35
| Позиция на иллюстрации | Заводской номер детали | Название детали | |
|---|---|---|---|
| 130-01-80.90.000-34-Р | 130-01-80.90.000-34-Р | Трубопроводы гидромолота | |
| 26950011606 | 26950011606 | Колпачок с язычком-фиксатором для пресс-масленок | |
| 02100000333 | 02100000333 | Масленка 1.3 Ц6Хр | |
| 02120000627 | 02120000627 | Шайба | |
| 1 | 130-00-80.01.100 | Щека правая | |
| 2 | 130-00-80.01.150 | Щека левая | |
| 4 | 140-00-80.20.400 | Металлоконструкция рукояти | |
| 5 | 145-00-80.20.500 | Установка втулок в рукоять | |
| 7 | 130-07-80.50.050 | Палец в сборе | |
| 8 | 130-00-80.50.050 | Палец в сборе | |
| 9 | 140-00-82.00.000-53 | Гидрооборудование сменных видов | |
| 11 | 145-00-80.01.000 | Тяга в сборе | |
| 13 | 130-04-83.00.400 | Установка втулок в гидроцилиндр ковша | |
| 15 | 130-07-80.50.030 | Палец в сборе | |
| 17 | 130-00-80.00.011 | Шайба упорная | |
| 19 | 130-07-80.00.004 | Шайба регулировочная | |
| 20 | 130-07-80.00.005 | Шайба регулировочная | |
| 22 | 175-00-80.00.014 | Кольцо | |
| 25 | 02120000026 | Болт | |
| 29 | 02120000390 | Подшипник | |
| 31 | 26950001407 | Кольцо | |
| 33 | 02120000294 | Кольцо | |
| 35 | 195-00-80.00.011 | Уплотнение подшипника шарнирного |