В товарах В каталоге запчастей

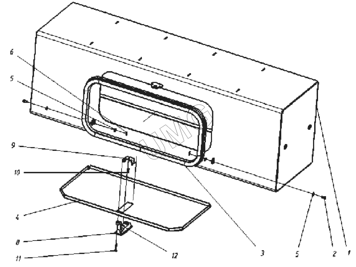
WX200. Ящик инструментальный

zoom-in zoom-out enlarge shrink circle-right circle-left file-text2 info cart
1
2
3
4
5
5
6
8
9
10
11
12
Позиция на иллюстрации Заводской номер детали Название детали
1 001710110510 00 Короб
2 001710110501 00 Ось
3 001710110503 00 Уплотнитель резиновый армированный металлом
4 001710110521 00 Лист гнутый
5 000026440606 01 Шайба плоская
6 000026440360 01 Шплинт
8 000940000020 01 Замок
9 Скоба замка Скоба замка
10 Болт СВ-Т291-1988 М4х16 Болт
11 Винт AS1427 М4х30 Винт
12 Гайка М4 Гайка
АвтоКаталог-онлайн предоставлен Компанией АвтоСофт