Товары
Каталог запчастей
Личный кабинет
Авторизация
Портал для заказа запасных частей
В товарах
В каталоге запчастей
Внимание!!! Сайт только для тестирования.
Каталоги запчастей к технике UMG
ТВЭКС
WX200
Установка инструментального ящика справа
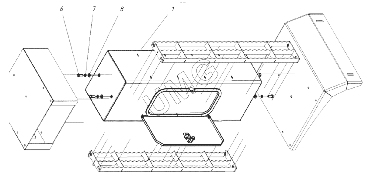
WX200. Установка инструментального ящика справа
zoom-in
zoom-out
enlarge
shrink
circle-right
circle-left
file-text2
info
cart
1
6
7
8
Позиция на иллюстрации
Заводской номер детали
Название детали
1
001710110500 00
Ящик инструментальный
6
000026400330 01
Болт
7
000026440207 01
Шайба
8
000026440612 01
Шайба
Дополнительная информация
×
Название:
Номер:
Примечание:
АвтоКаталог-онлайн предоставлен
Компанией АвтоСофт