В товарах В каталоге запчастей

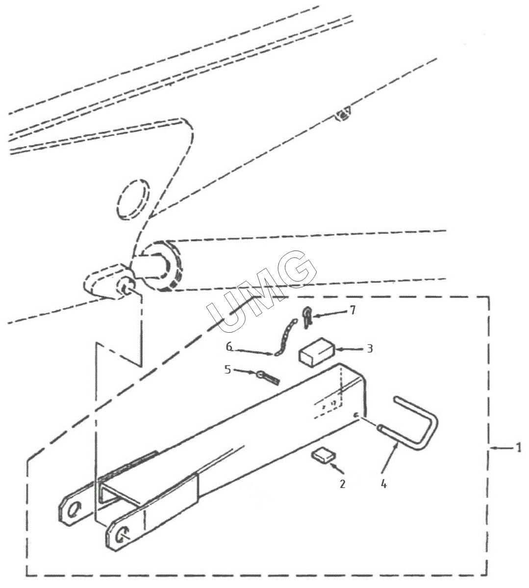
TLB 935. Распорка безопасности

zoom-in zoom-out enlarge shrink circle-right circle-left file-text2 info cart
1
2
3
4
5
6
7
Позиция на иллюстрации Заводской номер детали Название детали
1 815407007000 00 Упор погрузочного оборудования
2 000815030002 01 Композитная накладка
3 000815030001 01 Накладка
4 825108006011 00 Фиксатор тяги безопасности
5 000815071014 01 Штифт
6 000815030023 01 Цепочка фиксатора
7 000815071171 01 Шпилька
АвтоКаталог-онлайн предоставлен Компанией АвтоСофт