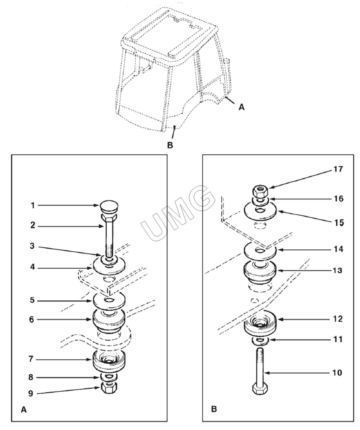
TLB 825. УСТАНОВКА КАБИНЫ
1
2
3
4
5
6
7
8
9
10
11
12
13
14
15
16
17
| Позиция на иллюстрации | Заводской номер детали | Название детали | |
|---|---|---|---|
| 1 | 3521671M1 | Крышка | |
| 2 | 391332X1 | Болт | |
| 3 | 385365X1 | Шайба | |
| 4 | T102287 | Шайба | |
| 5 | 825-00-00.00.003 | Шайба | |
| 6 | T105457 | Опора кабины | |
| 7 | 3507500M1 | Элемент | |
| 8 | 385365X1 | Шайба | |
| 9 | 339035X1 | Шестигранная гайка | |
| 10 | 391332X1 | Болт | |
| 11 | 385365X1 | Шайба | |
| 12 | 3507500M1 | Элемент | |
| 13 | 3507499M1 | Элемент | |
| 14 | 825-00-00.00.003 | Шайба | |
| 15 | 3521648M3 | Шайба | |
| 16 | 385365X1 | Шайба | |
| 17 | 339035X1 | Шестигранная гайка |