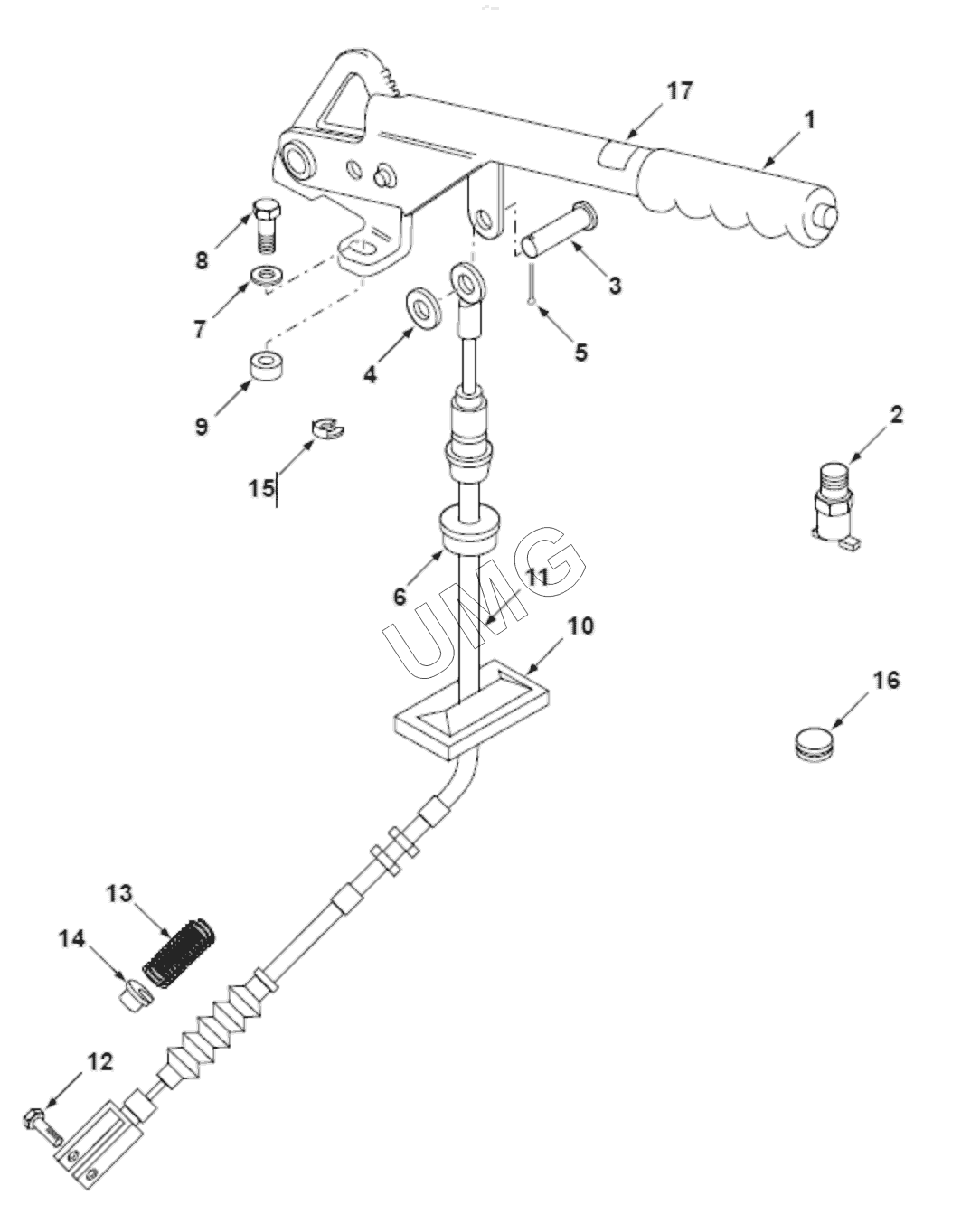
TLB 825. ТРОС СТОЯНОЧНОГО ТОРМОЗА
1
2
3
4
5
6
7
8
9
10
11
12
13
14
15
16
17
| Позиция на иллюстрации | Заводской номер детали | Название детали | |
|---|---|---|---|
| 1 | 3519890M91 | Рычаг тормоза | |
| 2 | 6107867M91 | Включатель | |
| 3 | 376401X1 | Ось | |
| 4 | 353756X1 | Шайба | |
| 5 | 1442992X1 | Шпилька | |
| 6 | 6102367M1 | Уплотнитель | |
| 7 | 390734X1 | Шайба | |
| 8 | 3009492X1 | Винт | |
| 9 | 3516293M1 | Распорная втулка | |
| 10 | 6006361 M2 | Чехол | |
| 11 | 6107032M91 | Трос в сборе | |
| 12 | 6107031M1 | Ось | |
| 13 | 3518052M2 | Пружина | |
| 14 | 3518051M1 | Пружинный фиксатор | |
| 15 | 1696650M1 | Зажим | |
| 16 | 3516323M1 | Уплотняющее кольцо | |
| 17 | 3516652M1 | Наклейка стояночного тормоза |