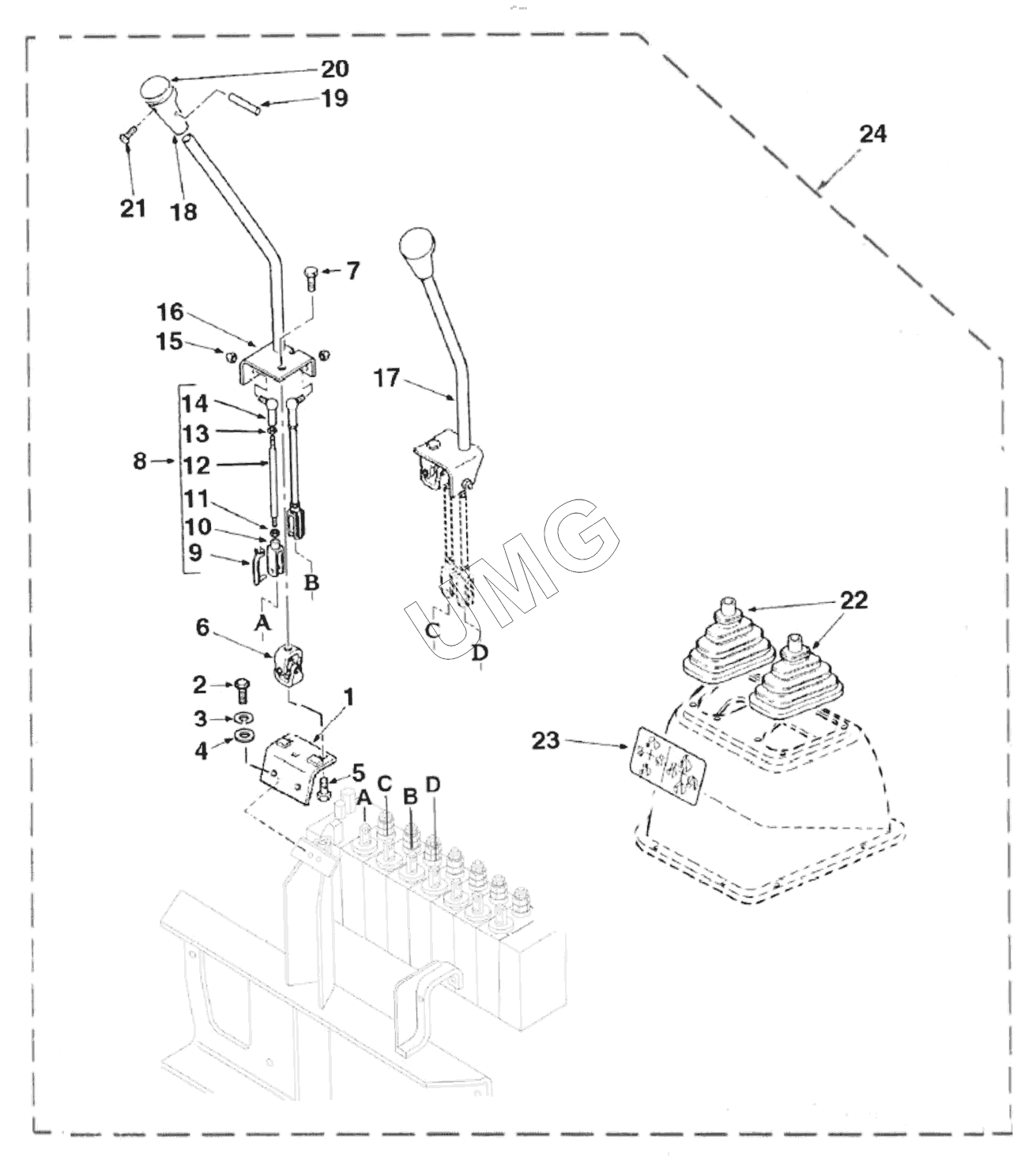
TLB 825. УПРАВЛЕНИЕ ЭКСКАВАТОРНЫМ ОБОРУДОВАНИЕМ
| Позиция на иллюстрации | Заводской номер детали | Название детали | |
|---|---|---|---|
| 1 | 815-40-50.02.000 | Кронштейн крепления рычагов | |
| 2 | 339124X1 | Болт | |
| 3 | 6101890M1 | Шайба | |
| 4 | 390972X1 | Шайба | |
| 5 | 354742X1 | Болт | |
| 6 | 3521075M91 | Скоба в сборе | |
| 7 | 354742X1 | Болт | |
| 8 | 6106905M91 | Тяга в сборе | |
| 9 | 3520666M1 | Фиксатор | |
| 10 | 3519590M1 | Вилка | |
| 11 | 3519650M1 | Гайка | |
| 12 | ROD | Тяга | |
| 13 | 339169X1 | Гайка | |
| 14 | 3517518M1 | Шаровой шарнир составной | |
| 15 | 394367X1 | Гайка | |
| 16 | 6107130M91 | Рычаг упраления правый | |
| 17 | 6107131M91 | Рычаг упраления левый | |
| 18 | 3522621M5 | Основание рукоятки управления | |
| 19 | 3019531X1 | Цилиндрический штифт | |
| 20 | 3522669M3 | Крышка рукоятки | |
| 21 | 3516886M1 | Винт | |
| 22 | 6109905M1 | Гофра рукоятки | |
| 23 | 6101890M1 | Шайба | |
| 24 | 6109903M91 | Контроллер |