В товарах В каталоге запчастей

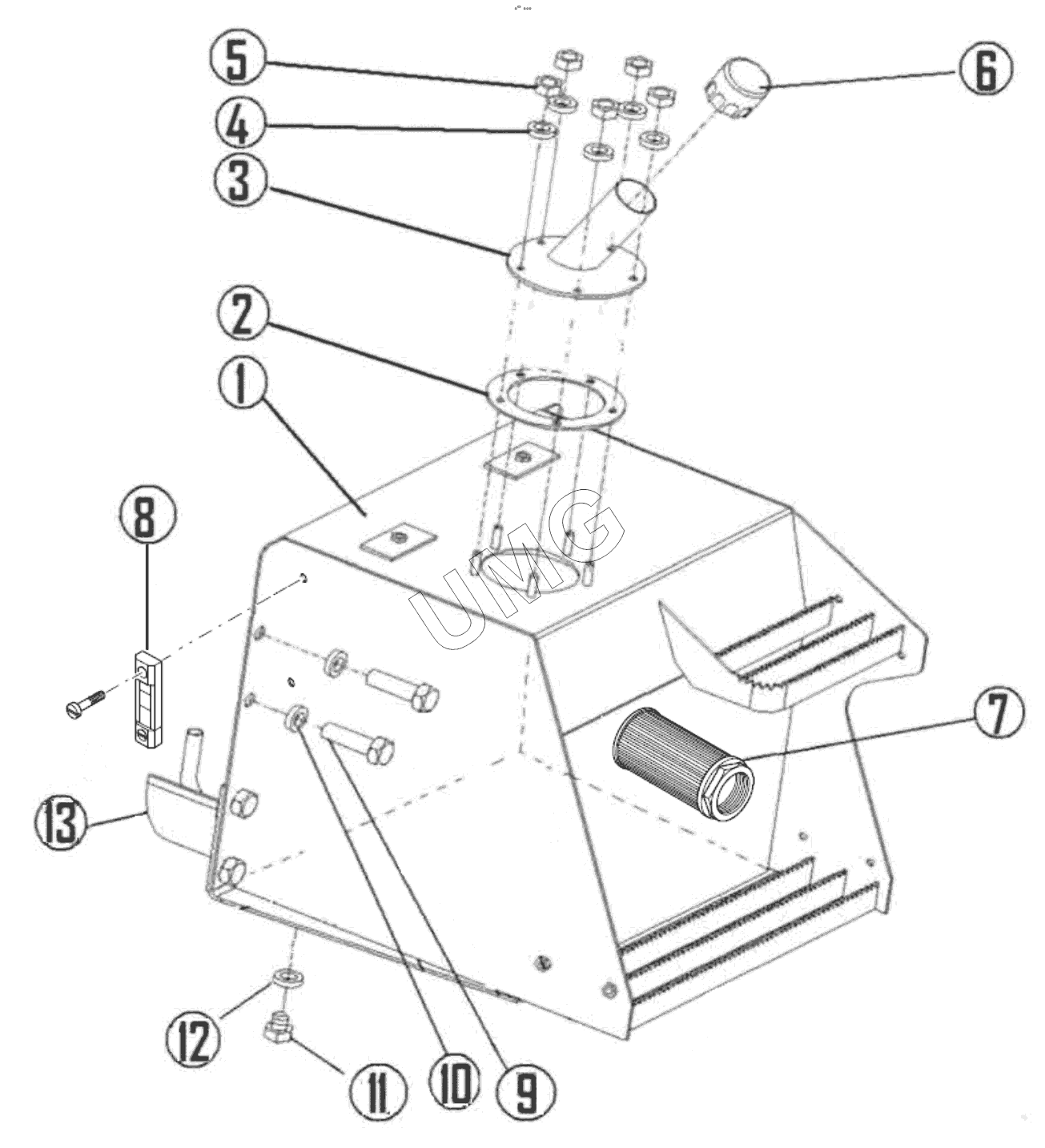
TLB 825. БАК ГИДРАВЛИЧЕСКИЙ

zoom-in zoom-out enlarge shrink circle-right circle-left file-text2 info cart
1
2
3
4
5
6
7
8
9
10
11
12
13
Позиция на иллюстрации Заводской номер детали Название детали
1 815-00-07.01.100 Бак гидравлический
2 6100975М2 Прокладка
3 815-00-07.01.400 Горловина заливная топливного бака
4 390972X1 Шайба
5 339169X1 Гайка
6 TМ 178 G100L Крышка бака
7 3515254M1 Всасывающий фильтрующий элемент
8 LS127-1W/M12 Указатель уровня
9 6007796M1 Болт
10 385363X1 Гайка
11 376501X1 Заглушка уловитель
12 1476281X1 Шайба
13 815-00-07.01.300 Кожух
АвтоКаталог-онлайн предоставлен Компанией АвтоСофт