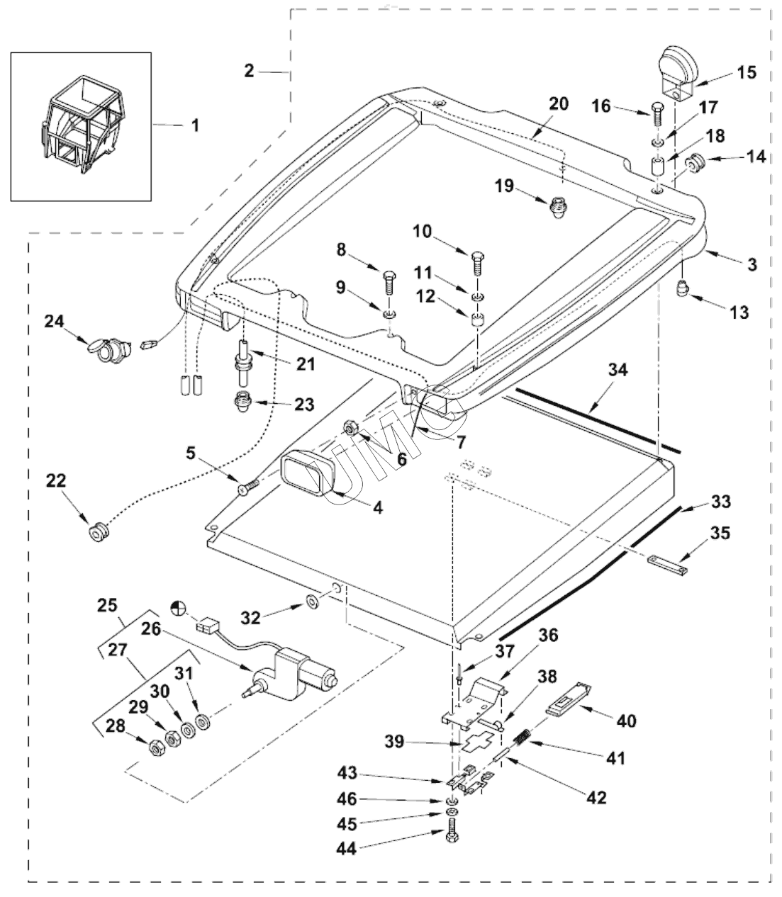
TLB 825. UPPER COVER
1
2
3
4
5
6
7
7
8
9
10
11
12
13
14
15
16
17
18
19
20
21
22
23
24
25
26
27
28
29
30
31
32
33
34
35
36
37
38
39
40
41
42
43
44
45
46
| Позиция на иллюстрации | Заводской номер детали | Название детали | |
|---|---|---|---|
| 1 | T101043 | Кабина | |
| 2 | T101058 | Крыша в сборе | |
| 3 | T101059 | Внешняя крыша | |
| 4 | 6101560M91 | Передняя фара в сборе | |
| 5 | 6099456M1 | Болт | |
| 6 | 6101590M1 | Гайка | |
| 7 | 6112778M91 | Жгут | |
| 7 | 6108826M91 | Жгут | |
| 8 | 3512555M1 | Винт с цилиндрической головкой | |
| 9 | 6099561M1 | Шайба | |
| 10 | 3009505X1 | Болт | |
| 11 | 6099562M1 | Шайба | |
| 12 | 6099563M1 | Прокладка | |
| 13 | 3517621M91 | Дополнительная втулка | |
| 14 | 6099447M1 | Прокладка | |
| 15 | 6110033M91 | Фара задняя | |
| 16 | 3009509X1 | Болт | |
| 17 | 6099562M1 | Шайба | |
| 18 | 6099564M1 | Прокладка | |
| 19 | 3512320M1 | Шайба форсунки | |
| 20 | 3522641M4 | Труба гибкая | |
| 21 | 3522640M3 | Труба гибкая | |
| 22 | 6099457M1 | Прокладка | |
| 23 | 3512320M1 | Шайба форсунки | |
| 24 | 3517621M91 | Дополнительная втулка | |
| 25 | 3504311M91 | Мотор щетки переднего стеклоочистителя | |
| 26 | MOTOR, WIPER | Мотор стеклоочистителя | |
| 27 | 3523336M91 | Комплект крепежа | |
| 28 | CAP | Крышка | |
| 29 | NUT | Гайка | |
| 30 | WASHER | Шайба | |
| 31 | WASHER | Шайба | |
| 32 | 3019881X1 | Уплотнитель | |
| 33 | 3019881X1 | Уплотнитель | |
| 34 | 6099455M1 | Уплотнитель | |
| 35 | 3512591M | Установка кронштейнов | |
| 36 | 6099592M1 | Опорная пластина | |
| 37 | 6099595M1 | Заклепки | |
| 38 | 3512475M1 | Фиксатор | |
| 39 | 6099265M1 | Пластмассовая шайба | |
| 40 | 6099593M1 | Защелка | |
| 41 | 6099594M1 | Пружина | |
| 42 | 1442357X1 | Штифт | |
| 43 | 6099596M1 | Кронштейн защелка в сборе | |
| 44 | 339123X1 | Болт | |
| 45 | 391025X1 | Пружинная шайба | |
| 46 | 390972X | Шайба |