В товарах В каталоге запчастей

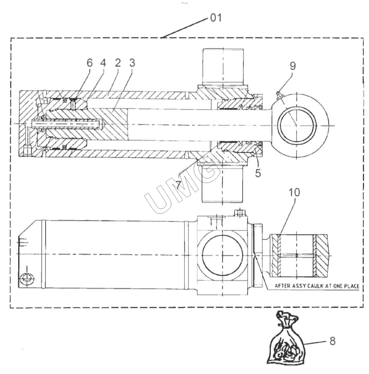
TLB 825. SWIVEL CYLINDER/45 D.

zoom-in zoom-out enlarge shrink circle-right circle-left file-text2 info cart
1
2
3
4
5
6
7
8
9
10
Позиция на иллюстрации Заводской номер детали Название детали
1 1TH0036M91 Гидроцилиндр поворота в сборе
2 10X1749 Труба в сборе
3 10X1750 Шток цилиндра
4 10X1751 Поршень
5 10X1752 Букса
6 10X1753 Стопорный винт
7 10X1754 Направляющая втулка
8 10X1755 Комплект ЗИП к гидроцилиндру
9 10X0078 Масленка
10 10X0080 Втулка
АвтоКаталог-онлайн предоставлен Компанией АвтоСофт