В товарах В каталоге запчастей

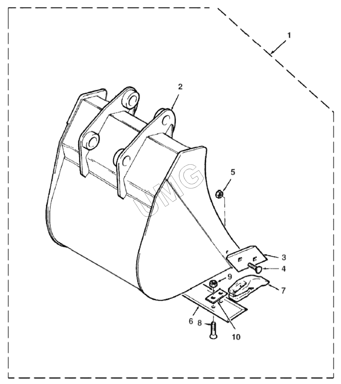
TLB 825. EXCAVATOR BUCKET

zoom-in zoom-out enlarge shrink circle-right circle-left file-text2 info cart
1
2
3
3
4
5
6
7
8
9
10
10
Позиция на иллюстрации Заводской номер детали Название детали
1 3516453M93 Ковш экскаваторный
2 BUCKET Ковш
3 3500531M1 Резец боковой левый
3 3500532M1 Резец боковой правый
4 353422X1 Болт
5 353427X1 Гайка
6 3516479M2 Козырек приварной
7 1C0050 Зуб ковша
8 353915X1 Болт
9 353427X1 Гайка
10 862738M1 Прокладка
10 862739M1 Прокладка
АвтоКаталог-онлайн предоставлен Компанией АвтоСофт