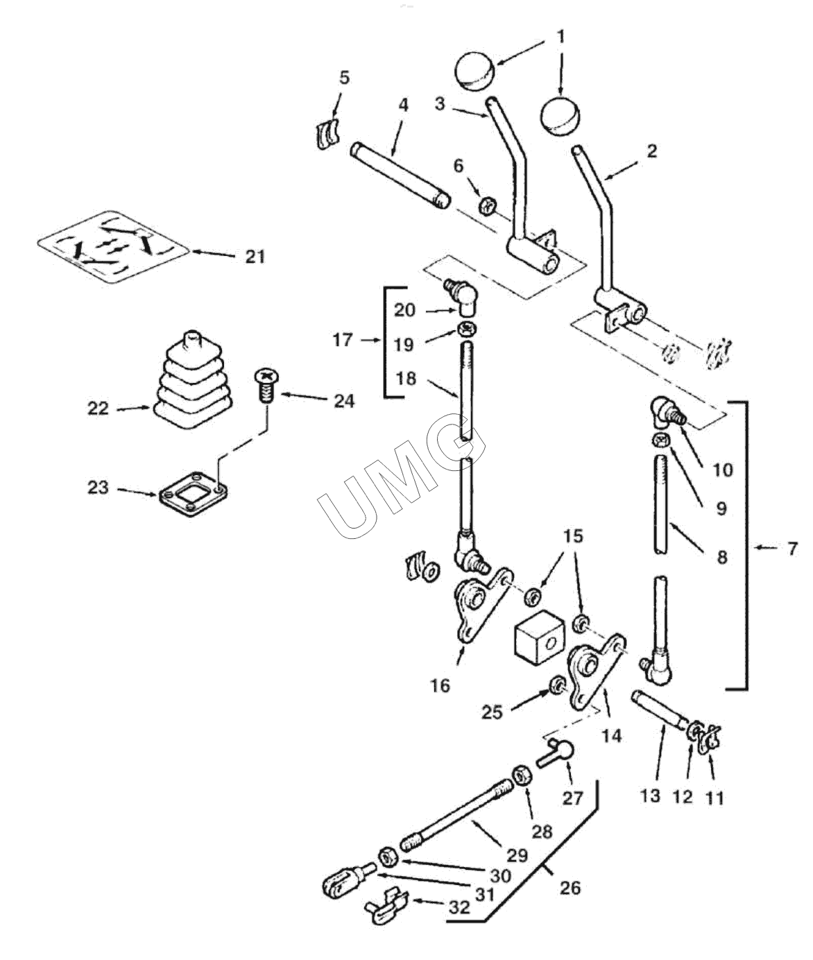
TLB 825. STABILIZER CONTROL
1
2
3
4
5
6
7
8
9
10
11
12
13
14
15
16
17
18
19
20
21
22
23
24
25
26
27
28
29
30
31
32
| Позиция на иллюстрации | Заводской номер детали | Название детали | |
|---|---|---|---|
| 1 | 3517899M1 | Рукоятка желтая, накручивающаяся | |
| 2 | 6100825M93 | Ручка управления стабилизатора левая | |
| 3 | 6100826M93 | Ручка управления стабилизатора правая | |
| 4 | 3521567M2 | Вал | |
| 5 | 3521460M1 | Фиксатор | |
| 6 | 394367X1 | Гайка | |
| 7 | 6100874M91 | Тяга в сборе | |
| 8 | ROD | Тяга | |
| 9 | 392309X1 | Гайка | |
| 10 | 3520655M1 | Шарнир | |
| 11 | 3521461M1 | Композитное страховочное крепление | |
| 12 | 390734X1 | Шайба | |
| 13 | 6108468M1 | Палец | |
| 14 | 6107713M1 | Рычаг | |
| 15 | 394367X1 | Гайка | |
| 16 | 6107713M1 | Рычаг | |
| 17 | 6100873M91 | Тяга в сборе | |
| 18 | ROD | Тяга | |
| 19 | 392309X1 | Гайка | |
| 20 | 3520655M1 | Шарнир | |
| 21 | 6106157M1 | Наклейка - стабилизаторы | |
| 22 | 6109925M1 | Гофра защитная | |
| 23 | 6101343M2 | Пластина | |
| 24 | 3521303M3 | Кнопка с "елочными" пазами | |
| 25 | 339169X1 | Гайка | |
| 26 | 6106905M91 | Тяга в сборе | |
| 27 | 3517518M1 | Шаровой шарнир составной | |
| 28 | 339169X1 | Гайка | |
| 29 | ROD | Тяга | |
| 30 | 3519650M1 | Гайка | |
| 31 | 3519590M1 | Вилка | |
| 32 | 3520666M1 | Фиксатор |