TLB 825. EXCAVATING EQUIPMENT
1
1
2
2
3
3
4
4
5
5
5
5
5
5
5
6
6
6
6
7
8
8
8
8
8
9
9
9
9
10
11
12
13
14
15
16
17
18
19
20
21
22
23
24
25
26
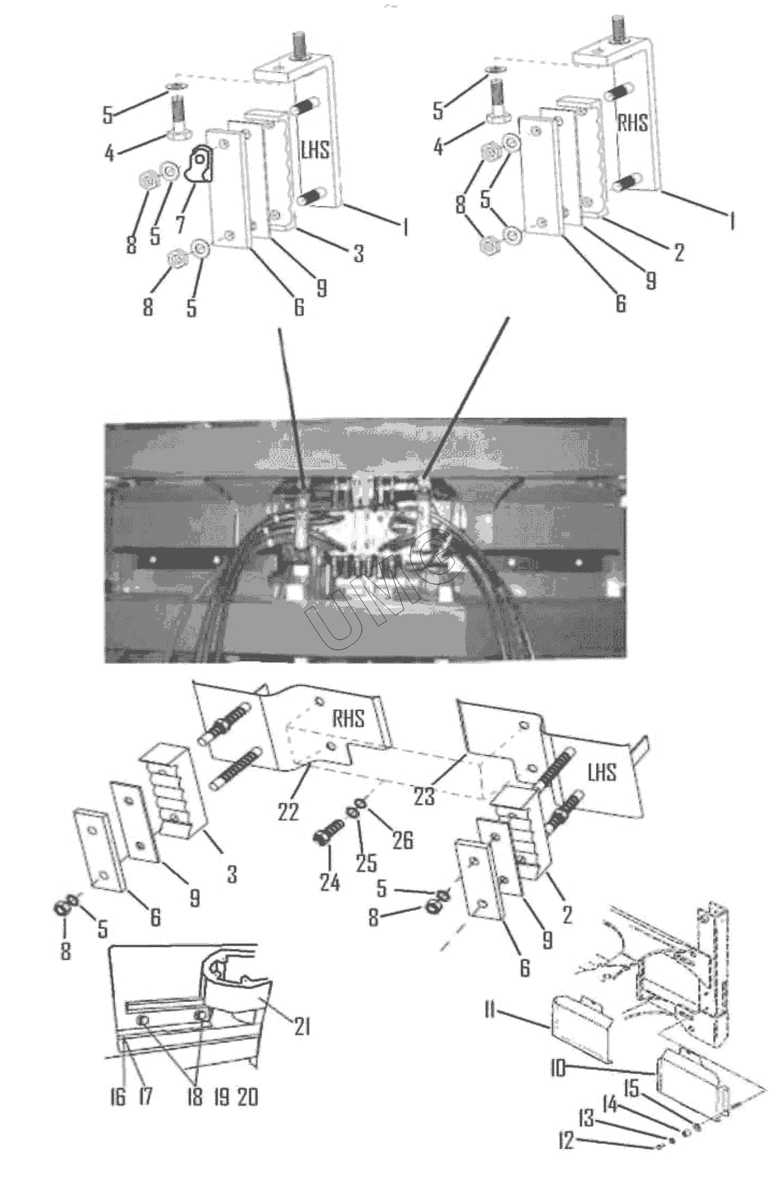
| Позиция на иллюстрации | Заводской номер детали | Название детали | |
|---|---|---|---|
| 1 | 6107934M91 | Скоба прижимная | |
| 2 | 6101859M1 | Хомут шланга правый | |
| 3 | 6101216M1 | Хомут шланга левый | |
| 4 | 339761X1 | Винт | |
| 5 | 390972X1 | Шайба | |
| 6 | 815-40-70.00.001 | Прижимная пластина | |
| 7 | 3517114M1 | Хомут | |
| 8 | 394367X1 | Гайка | |
| 9 | 6102197M1 | Накладка | |
| 10 | 1H0145 | Брызговик правый | |
| 11 | 1H0146 | Брызговик левый | |
| 12 | 339761X1 | Винт | |
| 13 | 390972X1 | Шайба | |
| 14 | 6101892M1 | Нейлоновая дистанционная втулка | |
| 15 | 390735X1 | Шайба | |
| 16 | 1H0250 | Угловая пластина в сборе, левая | |
| 17 | 1H0251 | Угловая пластина в сборе, правая | |
| 18 | 339376X1 | Шайба | |
| 19 | 1440329X1 | Гайка | |
| 20 | 339081X1 | Винт | |
| 21 | 1H0162 | Полоса пластиковая для шлангов | |
| 22 | 1H0275 | Несущая пластина правая | |
| 23 | 1H0272 | Несущая пластина левая | |
| 24 | 3009492X1 | Винт | |
| 25 | 339376X1 | Шайба | |
| 26 | 390734X1 | Шайба |