Товары
Каталог запчастей
Личный кабинет
Авторизация
Портал для заказа запасных частей
В товарах
В каталоге запчастей
Внимание!!! Сайт только для тестирования.
Каталоги запчастей к технике UMG
ТВЭКС
TLB 825
Комплект подлокотников
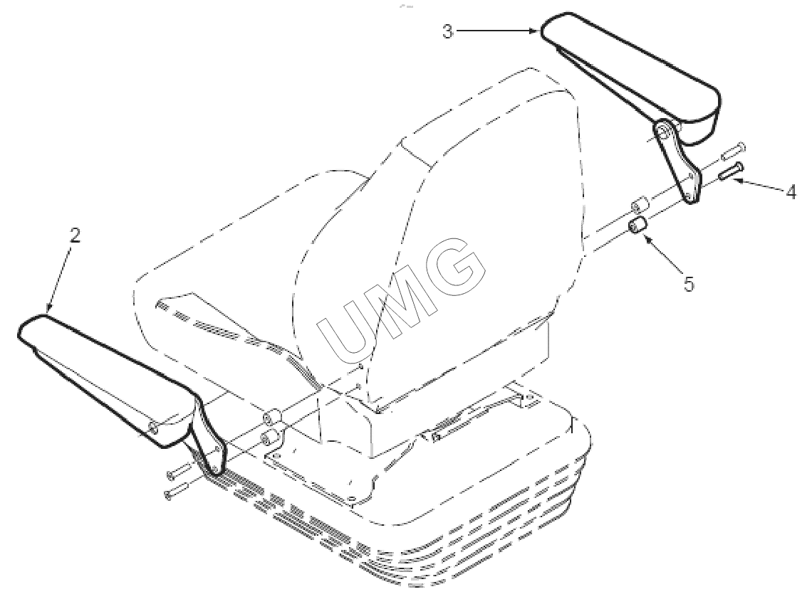
TLB 825. Комплект подлокотников
zoom-in
zoom-out
enlarge
shrink
circle-right
circle-left
file-text2
info
cart
2
3
4
5
Позиция на иллюстрации
Заводской номер детали
Название детали
1
6102822M93
Комплект подлокотников
2
6102814M92
Подлокотник левый
3
6102815M92
Подлокотник правый
4
6102829M1
Винт
5
6107425M1
Втулки
Дополнительная информация
×
Название:
Номер:
Примечание:
АвтоКаталог-онлайн предоставлен
Компанией АвтоСофт