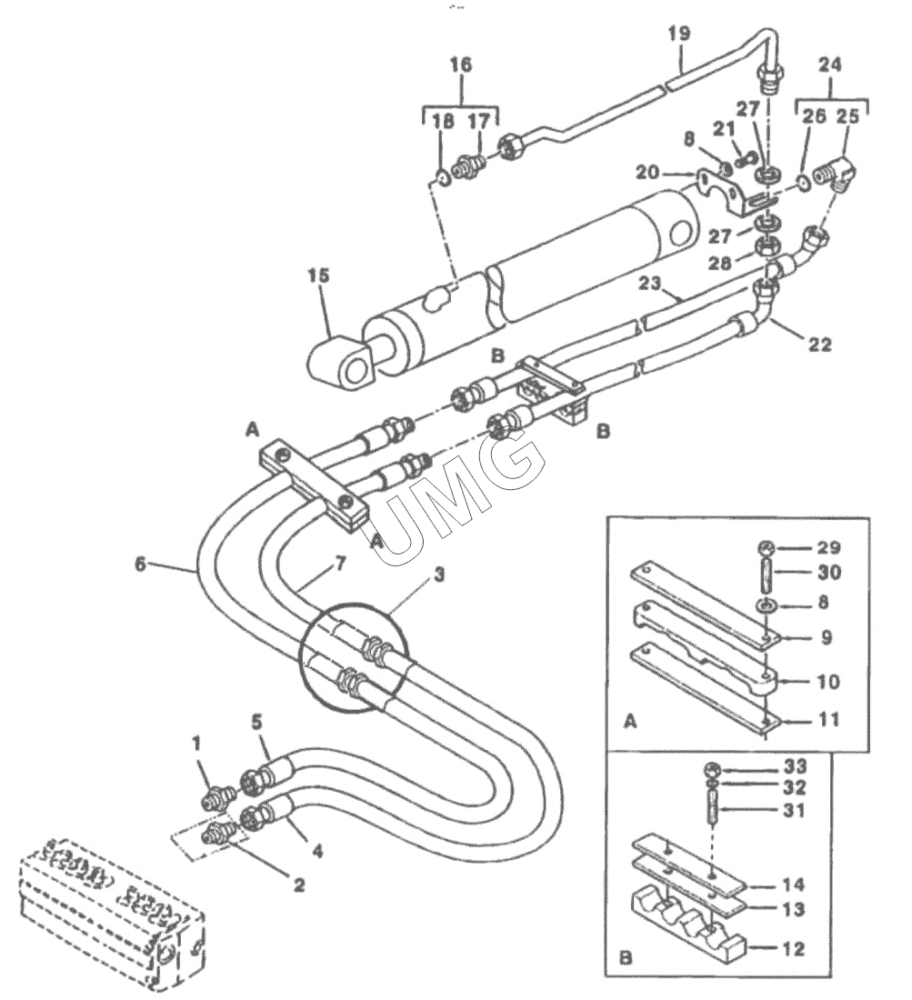
TLB 825. Привод стрелы гидрооборудования экскаваторного
1
2
3
4
5
6
7
8
8
9
10
11
12
13
14
15
16
17
18
19
20
21
22
23
24
25
26
27
27
28
29
30
31
32
33
| Позиция на иллюстрации | Заводской номер детали | Название детали | |
|---|---|---|---|
| 1 | 1H0183 | Переходник в сборе | |
| 2 | 1H0254 | Ограничитель в сборе | |
| 3 | 25334 | Хомут кабельный | |
| 4 | 1H0286 | Рукав в сборе | |
| 5 | 1H0284 | Рукав в сборе | |
| 6 | 1H0285 | Рукав в сборе | |
| 7 | 1H0287 | Рукав в сборе | |
| 8 | 390972X1 | Шайба | |
| 9 | 815-40-70.00.003 | Пластина | |
| 10 | 6102122M1 | Скоба прижимная | |
| 11 | 6102128M1 | Прокладка | |
| 12 | 6102126M1 | Скоба прижимная | |
| 13 | 6102145M1 | Накладка | |
| 14 | 815-40-70.00.003 | Пластина | |
| 15 | 1H0013 | Цилиндр опускания стрелы, серый | |
| 16 | 835013M91 | Муфта в сборе | |
| 17 | 358735X1 | Муфта | |
| 18 | 835024M1 | Уплотнение | |
| 19 | 6100855M91 | Труба цилиндра стрелы в сборе | |
| 20 | 815-40-70.00.007 | Кронштейн цилиндра стрелы | |
| 21 | 339124X1 | Болт | |
| 22 | 6101735M92 | Рукав в сборе | |
| 23 | 6101736M92 | Рукав в сборе | |
| 24 | 835007M91 | Угольник | |
| 25 | Угольник | Угольник | |
| 26 | 835024M1 | Уплотнение | |
| 27 | 353763X1 | Шайба | |
| 28 | 355574X1 | Гайка | |
| 29 | 394367X1 | Гайка | |
| 30 | 3516075M1 | Шпилька | |
| 31 | 6108049M1 | Шпилька | |
| 32 | 390972X1 | Шайба | |
| 33 | 394367X1 | Гайка |