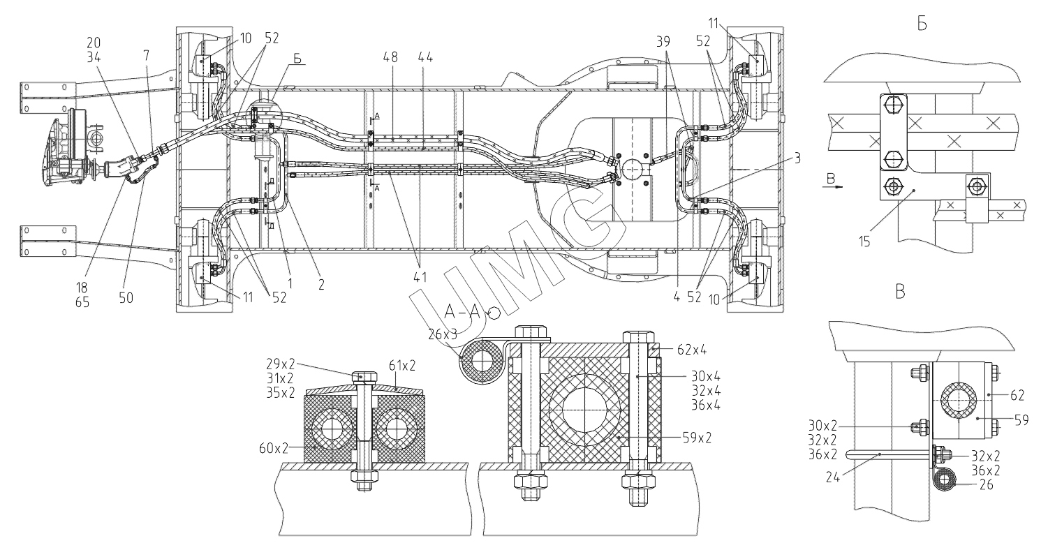
ЭОВ-3521М-1. 417-10-21.80.000 Гидрооборудование на раме
1
2
2
2
2
2
2
2
2
2
2
2
2
3
3
4
4
4
4
4
7
10
10
11
11
15
18
20
24
26
26
29
30
30
31
32
32
32
34
35
36
36
36
39
41
44
48
50
52
52
52
52
59
59
60
61
62
62
65
| Позиция на иллюстрации | Заводской номер детали | Название детали | |
|---|---|---|---|
| 1 | 417-10-21.80.010 | Трубопровод | |
| 2 | 417-10-21.80.020 | Трубопровод | |
| 3 | 417-10-21.80.030 | Трубопровод | |
| 4 | 417-10-21.80.040 | Трубопровод | |
| 7 | 417-10-21.80.070 | Трубопровод | |
| 8 | 417-10-21.80.080 | Трубопровод | |
| 10 | 417-10-21.80.100 | Гидроцилиндр выносных опор левый | |
| 11 | 417-10-21.80.200 | Гидроцилиндр выносных опор правый | |
| 13 | 422-00-60.72.100 | Коллектор | |
| 15 | 417-10-21.80.001 | Кронштейн | |
| 18 | 314-30-80.04.001 | Штуцер | |
| 19 | 318-50-80.01.009 | Штуцер | |
| 20 | 417-10-21.80.006 | Штуцер | |
| 21 | ЭО-3322А.66.01.001 | Скоба | |
| 24 | ЭО3323А.04.00.005 | Хомут | |
| 26 | НГ-413.010.0.001-10 | Хомут | |
| 28 | M8-6gЧ50.58.016 | Болт | |
| 29 | M8-6gЧ60.58.016 | Болт | |
| 30 | M10-6g90.88.40Х.016 | Болт | |
| 31 | M8-6H.05.016 | Гайка | |
| 32 | M10-6H.05.016 | Гайка | |
| 33 | 018-022-25-2-3 | Кольцо | |
| 34 | 024-028-25-2-3 | Кольцо | |
| 35 | 8.65Г.016 | Шайба | |
| 36 | 10.65Г.016 | Шайба | |
| 37 | С8.01.08кп.019 | Шайба | |
| 39 | 12-28 (М22х1.5) -450-У | Рукав | |
| 41 | 12-28 (М22х1.5) -2050-У | Рукав | |
| 44 | 12-28 (М22х1.5) -2850-У | Рукав | |
| 48 | 25-32 (М42Х2;0- М42Х2;45) -2850-У | Рукав | |
| 50 | 2SN-8-350-250- (DKOL24 є)/M16x1,5/90 є- (DKOL24 є) / M16x1,5/90 є | Рукав | |
| 52 | 2SN-12-275-850- (DKOL24 є) /M22x1,5/90 є- (DKOL24 є) / M22x1,5/0 є | Рукав | |
| 59 | DIN 3015 5040 РАН | Корпус одиночного зажима | |
| 60 | DIN 3015 322/22 РАН | Корпус одиночного зажима | |
| 61 | DIN 3015 CD 3D W3 | Накладка | |
| 62 | DIN 3015 DPAL 5S W2 | Накладка | |
| 65 | 400-765-5590 | Прокладка |