Товары
Каталог запчастей
Личный кабинет
Авторизация
Портал для заказа запасных частей
В товарах
В каталоге запчастей
Внимание!!! Сайт только для тестирования.
Каталоги запчастей к технике UMG
ТВЭКС
ВП-05
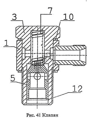
Клапан
ВП-05. Клапан
zoom-in
zoom-out
enlarge
shrink
circle-right
circle-left
file-text2
info
cart
1
3
5
7
10
12
Позиция на иллюстрации
Заводской номер детали
Название детали
1
005-00.80.01.310
Муфта
3
005-00-80.01.301
Штуцер
5
005-00-80.01.302
Клапан
7
005-00-80.01.305
Пружина
10
ЭО-3322А.25.10.113
Прокладка
12
В23 ГОСТ 14941-86
Кольцо
Дополнительная информация
×
Название:
Номер:
Примечание:
АвтоКаталог-онлайн предоставлен
Компанией АвтоСофт