В товарах В каталоге запчастей

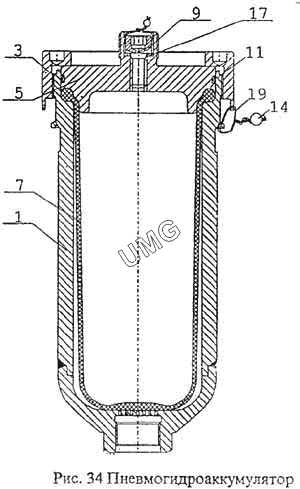
ВП-05. Пневмогидроаккумулятор

zoom-in zoom-out enlarge shrink circle-right circle-left file-text2 info cart
1
3
5
7
9
11
14
17
19
Позиция на иллюстрации Заводской номер детали Название детали
1 64020.00.100 Корпус
3 64020.00.002 Гайка
5 64020.00.003 Крышка
7 64020.00.005 Диафрагма
9 64020.00.008 Винт
11 090-95-30-2-3 ГОСТ 9833-73 Кольцо
14 10/6.5 ГОСТ 3268-84 Пломба
17 10М3 ГОСТ 23358-87 Прокладка
19 1-0-С ГОСТ 3282-74 Проволока L=600 мм
АвтоКаталог-онлайн предоставлен Компанией АвтоСофт