Товары
Каталог запчастей
Личный кабинет
Авторизация
Портал для заказа запасных частей
В товарах
В каталоге запчастей
Внимание!!! Сайт только для тестирования.
Каталоги запчастей к технике UMG
ТВЭКС
ВП-05
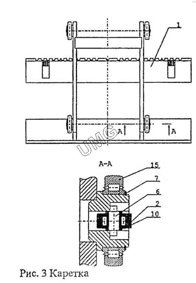
Каретка
ВП-05. Каретка
zoom-in
zoom-out
enlarge
shrink
circle-right
circle-left
file-text2
info
cart
1
2
6
7
10
15
Позиция на иллюстрации
Заводской номер детали
Название детали
1
005-01-33.02.100
Металлоконструкция каретки
2
005-01-33.02.200
Подшипник
6
005-01-33.03.001
Ось
7
005-01-33.03.002
Кольцо
10
16.01.05 ГОСТ 10450-68
Шайба
15
96271ХС17
Роликоподшипник
Дополнительная информация
×
Название:
Номер:
Примечание:
АвтоКаталог-онлайн предоставлен
Компанией АвтоСофт