ВП-05. Грузоподъемник (Детально)
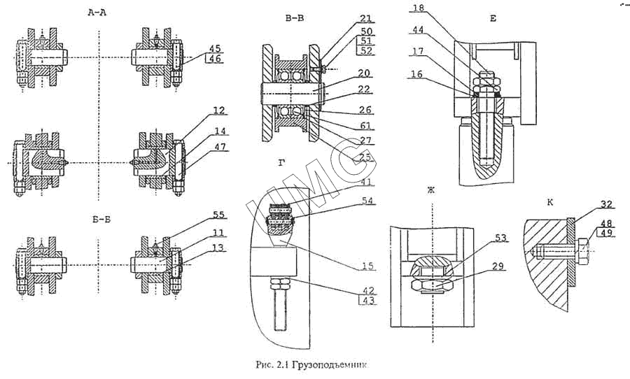
11
12
13
14
15
16
17
18
20
21
22
25
26
27
29
32
41
42
43
44
45
46
47
48
49
50
51
52
53
54
55
61
| Позиция на иллюстрации | Заводской номер детали | Название детали | |
|---|---|---|---|
| 11 | 005-01-33.00.001 | Палец | |
| 12 | 005-01-33.00.002 | Палец | |
| 13 | 005-01-33.00.003 | Втулка | |
| 14 | 005-01-33.00.004 | Втулка | |
| 15 | 005-01-33.00.005 | Болт натяжной | |
| 16 | 005-01-33.00.006 | Шайба коническая | |
| 17 | 005-01-33.00.007 | Шайба сферическая | |
| 18 | 005-01-33.00.008 | Шпилька | |
| 20 | 005-01-33.00.010 | Палец | |
| 21 | 005-01-33.00.011 | Ригель | |
| 22 | 005-01-33.00.012 | Кольцо | |
| 25 | 005-01-33.00.015 | Ролик | |
| 26 | 005-01-33.00.016 | Шайба | |
| 27 | 005-01-33.00.017 | Кольцо | |
| 29 | 005-01-33.91.011 | Гайка | |
| 32 | ЭО-3322А.02.00.010 | Шайба упорная | |
| 41 | П-25.4-217-5-3 ГОСТ 23540-79 | Цепь L=2,54м (100 зв.) | |
| 42 | 24.01.05 ГОСТ 11371-68 | Шайба | |
| 43 | М24-6Н.5.019 ГОСТ 15521-70 | Гайка | |
| 44 | М20-6Н.5.019 ГОСТ 15521-70 | Гайка | |
| 45 | М16-6gх110.36.019 ГОСТ 7796-70 | Болт | |
| 46 | М16-6Н.5.019 ГОСТ 15521-70 | Гайка | |
| 47 | М16-6gх140.36.019 ГОСТ 7796-70 | Болт | |
| 48 | М16-6gх40.36.019 ГОСТ 7796-71 | Болт | |
| 49 | 16.65Г.019 ГОСТ 6402-68 | Шайба | |
| 50 | М8-6gх20.36.019 ГОСТ 7796-70 | Болт | |
| 51 | 8.65Г.019 ГОСТ 6402-68 | Шайба | |
| 52 | 8.01.05 ГОСТ 11371-68 | Шайба | |
| 53 | НД 80х50х5х1,5 ГОСТ 3057-54 | Пружина тарельчатая | |
| 54 | 3,2х25.019 ГОСТ 397-79 | Шплинт | |
| 55 | 1.3.Ц6х1 ГОСТ 19853-74 | Масленка | |
| 61 | 710309 | Подшипник |