ВП-05. Пневмоуправление
1
2
3
4
4
8
9
9
10
11
12
13
15
17
18
19
19
21
23
23
25
26
27
28
30
31
32
33
34
35
36
37
38
40
41
70
71
72
73
74
75
76
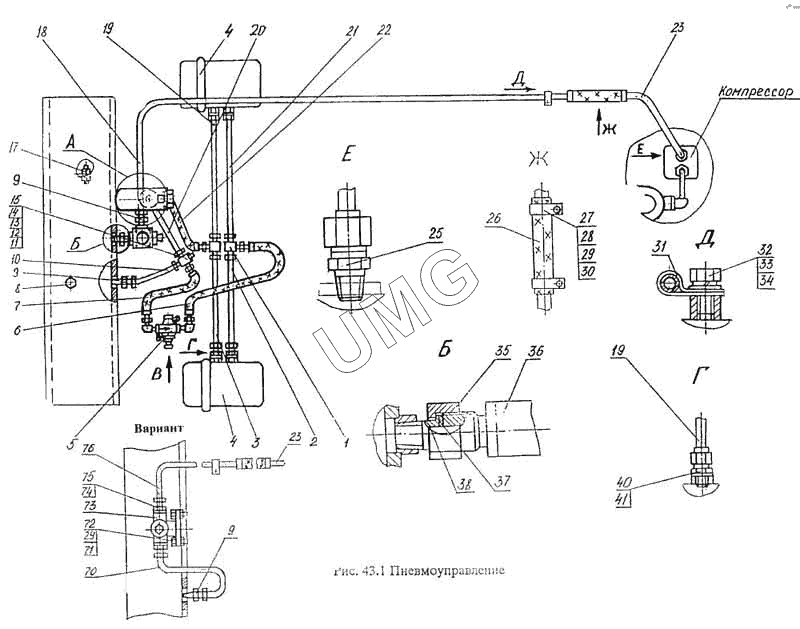
| Позиция на иллюстрации | Заводской номер детали | Название детали | |
|---|---|---|---|
| 1 | ЭО-3322А.24.01.004 | Тройник | |
| 2 | 005-01-81.00.040-30 | Трубопровод | |
| 3 | 005-01-81.00.040-20 | Трубопровод | |
| 4 | Тип 20/20 20.35.19.100-01 | Камера тормозная с энергоаккумулятором | |
| 8 | ЭО-3322А.09.40.004 | Пробка коническая | |
| 9 | ЭО-3322А.23.02.002 | Штуцер | |
| 10 | 005-01-81.00.080 | Шланг | |
| 11 | 005-01-81.00.000 | Пневмоуправление | |
| 11 | ЭО-3322А.23.03.014 | Штуцер | |
| 12 | 314-02-85.03.001 | Крестовина | |
| 13 | 314-02-85.03.004 | Крестовина | |
| 15 | 27.3829 | Датчик аварийного давления воздуха | |
| 17 | ПС-7 ОСТ37.001.240-81 | Кран сливной | |
| 18 | 005-01-81.00.010-10 | Трубопровод | |
| 19 | 005-01-81.00.040-40 | Трубопровод | |
| 21 | 005-01-81.00.040-50 | Трубопровод | |
| 23 | 005-01-81.00.010 | Трубопровод | |
| 25 | Э302Б-1-6150-03 | Штуцер | |
| 26 | 12х20-1,6В ГОСТ 10362-76 | Рукав L=200±5 мм | |
| 27 | ЭО-3323.01.90.005 | Хомут | |
| 28 | М6-7Н.5.019 ГОСТ 5915-70 | Гайка | |
| 30 | 6.01.019 ГОСТ 11371-78 | Шайба | |
| 31 | ЭО-3322Б.47.20.002 | Хомут | |
| 32 | ВМ6-8gх25.58.019 ГОСТ 7798-70 | Болт | |
| 33 | 10.65Г.019 ГОСТ 6402-70 | Шайба | |
| 34 | 10.01.019 ГОСТ 1371-78 | Шайба | |
| 35 | 13.01.91.003 | Гайка | |
| 36 | А29.51.000Б ТУ23.1.110-82 | Регулятор давления | |
| 37 | 13.01.91.001 | Прокладка | |
| 38 | 13.01.91.004 | Переходник | |
| 40 | ЭО-3323.20.91.005 | Штуцер | |
| 41 | ЭО-3323.20.91.009 | Прокладка | |
| 70 | 005-01-81.00.090 | Трубопровод | |
| 71 | ВМ8-8gх30.58.019 ГОСТ 7798-80 | Болт | |
| 72 | 8.65Г.0 19 ГОСТ 6402-70 | Шайба | |
| 73 | 100-3512010 | Регулятор давления | |
| 74 | ЭО-3322А.66.01.005 | Штуцер | |
| 75 | 22М3 ГОСТ 23358-87 | Прокладка | |
| 76 | 005-01-81.00.010-20 | Трубопровод |