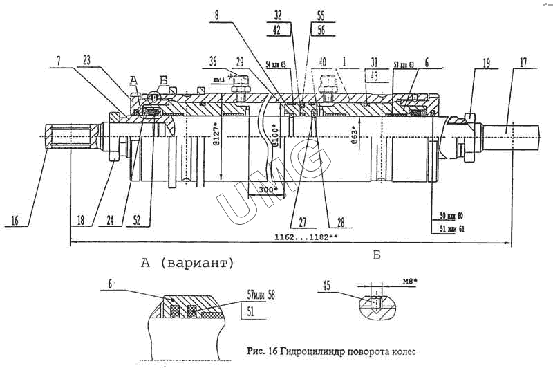
ВП-05. Гидроцилиндр поворота колес
1
6
7
8
16
17
18
19
23
24
27
28
29
31
32
36
40
42
43
45
50
51
51
52
53
54
55
56
57
58
60
61
63
65
| Позиция на иллюстрации | Заводской номер детали | Название детали | |
|---|---|---|---|
| 1 | 005-01-80.09.100 | Гильза | |
| 6 | 005-01-80.09.006 (005-01-80.09.006-10) | Букса | |
| 7 | 005-01-80.09.010 | Шток | |
| 8 | 005.01-80.09.011 | Поршень | |
| 16 | 005-01-80.07.001 | Проушина | |
| 17 | 005-01-80.07.002 | Проушина | |
| 18 | 005-01-80.07.003 | Гайка | |
| 19 | 005-01-80.07.004 | Гайка | |
| 23 | 13.20.66.002 | Гайка внутренняя | |
| 24 | 13.20.66.003 | Кольцо | |
| 27 | 005-01-80.07.012 | Кольцо | |
| 28 | 005-01-80.07.013 | Сегмент | |
| 29 | 005-01-80.07.015 | Полукольцо | |
| 31 | 005-01-80.07.009 | Кольцо защитное | |
| 32 | 005-01-80.07.014 | Кольцо защитное | |
| 36 | Э302-1-1200-01 | Штуцер | |
| 40 | 1 Б 80 ГОСТ 13941-86 | Кольцо | |
| 42 | 063-071-46-2-2 ГОСТ 9833-73 | Кольцо | |
| 43 | 090-100-58-2-2 ГОСТ 9833-73 | Кольцо | |
| 45 | ВМ8-8gх12.14Н.019 ГОСТ 1476-84 | Винт | |
| 50 | Е52-063 ТУ 18.0107-95 | Грязесъемник | |
| 51 | 01-063 | Кольцо | |
| 52 | Е3-063-4 ТУ 18.0102-95 | Манжета | |
| 53 | Е22-063-30-2.5 ТУ 18.0106-95 | Кольцо | |
| 54 | Е31-100-12-3 ТУ 18.0105-95 | Кольцо | |
| 55 | Е13-100-5 ТУ18.0104-95 | Кольцо | |
| 56 | 02-100 | Кольцо | |
| 57 | Е1-063-3 ТУ 18.0101-95 | Кольцо | |
| 58 | КУВ-63 | Кольцо | |
| 60 | ГСВ-63 | Грязесъемник | |
| 61 | D 4,6 L=235 мм ГОСТ 9833-73 | Кольцо | |
| 63 | КОВ-63 | Кольцо опорно-направляющее | |
| 65 | КОН-100 | Кольцо опорно-направляющее |