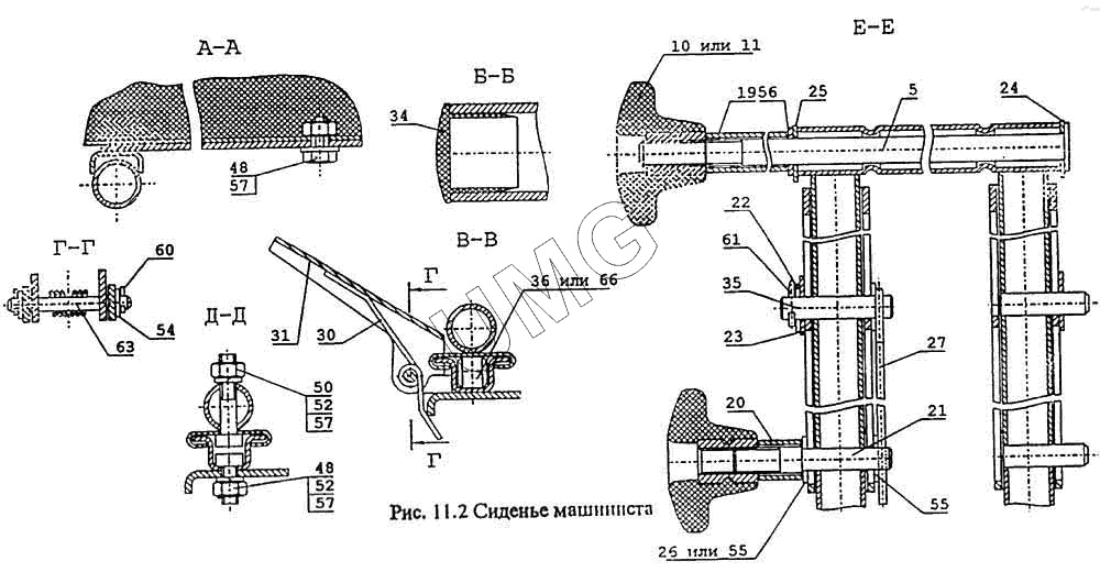
ВП-05. Сиденье машиниста
5
10
11
19
20
21
22
23
24
25
26
27
30
31
34
35
36
48
48
50
52
52
54
55
55
56
57
57
57
60
61
63
66
| Позиция на иллюстрации | Заводской номер детали | Название детали | |
|---|---|---|---|
| 5 | 312-00-86.05.000 | Стержень стяжной | |
| 10 | 312-00-86.10.000 | Ручка | |
| 11 | 312-00-86.11.000 | Ручка | |
| 19 | 312-00-86.00.001 | Втулка упорная | |
| 20 | 312-00-86.00.002 | Втулка упорная | |
| 21 | 312-00-86.00.003 | Палец резьбовой | |
| 22 | 312-00-86.00.004 | Кронштейн опорный | |
| 23 | 312-00-86.00.004-10 | Кронштейн опорный | |
| 24 | 312-00-86.00.005 | Кронштейн поворотный | |
| 25 | 312-00-86.00.005-10 | Кронштейн поворотный | |
| 26 | 312-00-86.00.006 | Шайба | |
| 27 | 312-00-86.00.007 | Фиксатор | |
| 30 | 312-00-86.00.009 | Пружина стопора | |
| 31 | 312-00-86.00.011 | Фиксатор | |
| 34 | 312-00-86.00.013 | Заглушка | |
| 35 | 312-00-86.00.014 | Ось | |
| 36 | 312-00-86.00.015 | Ролик | |
| 48 | ВМ8-8gх16.58.019 ГОСТ 7798-70 | Болт | |
| 50 | ВМ8-8gх35.58.019 ГОСТ 7798-70 | Болт | |
| 52 | М8-7Н.5.019 ГОСТ 5915-70 | Гайка | |
| 54 | 6.01.019 ГОСТ 11371-70 | Шайба | |
| 55 | 10.01.019 ГОСТ 11371-70 | Шайба | |
| 56 | 12.01.019 ГОСТ 11371-70 | Шайба | |
| 57 | 8.65Г.019 ГОСТ 6402-70 | Шайба | |
| 60 | 1,6х10.001 ГОСТ 397-79 | Шплинт | |
| 61 | 2,5х20.001 ГОСТ 397-79 | Шплинт | |
| 63 | 6-6h11х55.Ц9 ГОСТ 9650-80 | Ось | |
| 66 | Б14.288-200 ГОСТ 3722-81 | Шарик |