В товарах В каталоге запчастей

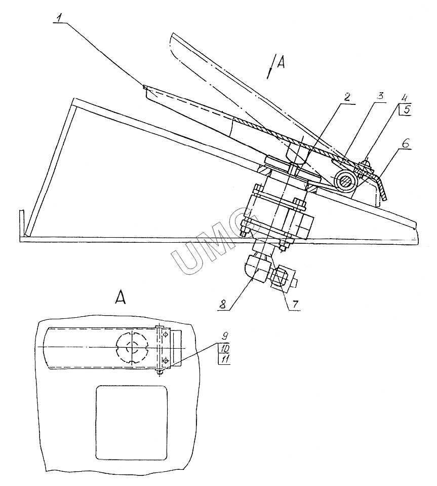
ЕК-12 (2013). 13.01.03.010 Установка педали тормоза

zoom-in zoom-out enlarge shrink circle-right circle-left file-text2 info cart
1
2
3
4
5
6
7
8
9
10
11
Позиция на иллюстрации Заводской номер детали Название детали
1 13.01.03.011 Педаль
2 Э302-1-1201-17 Шайба стопорная
3 ЭО-3322А.09.02.001 Пружина
4 В1М6-80х12.58.019 Винт
5 6.01.019 Шайба
6 13.01.03.013 Упор
7 ЭО-3323.07.06.400 Золотник дифференциальный
8 ЭО-3322А.09.20.009 Угольник
9 13.01.03.015 Ось
10 8.01.019 Шайба ГОСТ 6958-78
11 2х14.019 Шплинт
АвтоКаталог-онлайн предоставлен Компанией АвтоСофт